
|
|
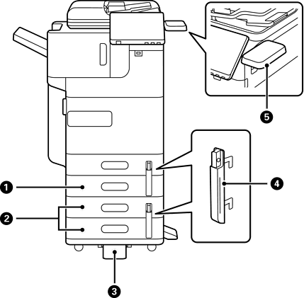
Р1-Қағаз (жалғыз) кассетасының блогы (Paper Cassette Unit (Single)-P1) |
Принтерге C2 қағаз кассеталарын қосады. |
|
|
Р2-Қағаз (қос) кассетасының блогы (Paper Cassette Unit (Dual)-P2) |
Принтерге C3 және C4 қағаз кассеталарын қосады. |
|
|
Тұрақтандырғыш-P1 (Stabiliser-P1) |
Принтердің аударылып кетуіне жол бермеу үшін оны қолдайды. Олар сіздің еліңізге немесе өңіріңізге байланысты қолжетімді болмауы мүмкін. |
|
|
Қағаз кассетасының құлпы-P1 (Paper Cassette Lock-P1) |
Әкімші қағазды пайдалануды басқарғысы келгенде, кассеталарды құлыптау үшін оны екі қағаз кассетасына бекіту қажет. |
|
|
Аутентификациялау құрылғысының кестесі-P1 (Authentication Device Table-P1) немесе Аутентификациялау құрылғысының кестесі-P2 (Authentication Device Table-P2) |
Принтер қолдайтын сәйкестендіру құрылғысын қосуға мүмкіндік береді. Содан кейін сәйкестендіру картасын принтерге жақындатып, кіруге болады. |