
|
|
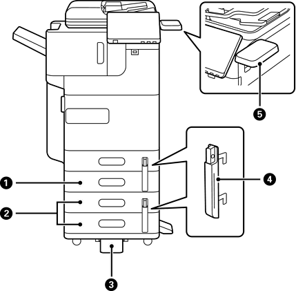
Papīra kasešu bloks (viens)-P1 (Paper Cassette Unit (Single)-P1) |
Printerim pievieno C2 papīra kasetes. |
|
|
Papīra kasešu bloks (dubults)-P2 (Paper Cassette Unit (Dual)-P2) |
Pievieno C3 un C4 papīra kasetes printerim. |
|
|
Stabilizētājs P1 (Stabiliser-P1) |
Atbalsta printeri, lai novērstu tā apgāšanos. Tie nevar būt pieejami atkarībā no jūsu valsts vai reģiona. |
|
|
Papīra kasetes bloķēšana P1 (Paper Cassette Lock-P1) |
Kad administratora vēlas pārvaldīt papīra lietojumu, pievienojiet šīs divas papīra kasetes ar atslēgu, lai bloķētu kasetes. |
|
|
Autentifikācijas ierīču tabula-P1 (Authentication Device Table-P1) vai Autentifikācijas ierīču tabula-P2 (Authentication Device Table-P2) |
Nodrošina iespēju pievienot printera atbalstītu autentifikācijas ierīci. Pēc tam varat pieteikties printerī, turot autentifikācijas karti virs printera. |