
|
|
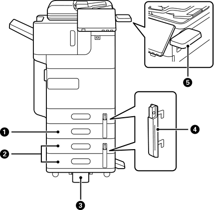
Цаасны кассетын зүйл (Ганц)-P1 (Paper Cassette Unit (Single)-P1) |
Цаасан кассет C2-г принтерт нэмнэ. |
|
|
Цаасны кассетын зүйл (Хос)-P2 (Paper Cassette Unit (Dual)-P2) |
Цаасан кассет C3 болон C4-г хэвлэгчид нэмнэ. |
|
|
Тогтворжуулагч-P1 (Stabiliser-P1) |
Хэвлэгчийг хажуугаараа унахаас сэргийлнэ. Эдгээрийг таны байгаа улс эсвэл бүс нутагт ашиглах боломжгүй байж магадгүй. |
|
|
Цаасны кассетын түгжээ-P1 (Paper Cassette Lock-P1) |
Админ цаасны хэрэглээг удирдахыг хүсвэл, кассетийг түгжихийн тулд үүнийг хоёр түгжээтэй цаасан кассетад бэхлээрэй. |
|
|
Баталгаажуулах төхөөрөмжийн хүснэгт-P1 (Authentication Device Table-P1) эсвэл Баталгаажуулах төхөөрөмжийн хүснэгт-P2 (Authentication Device Table-P2) |
Хэвлэгчээс дэмжих баталгаажуулах төхөөрөмжийг суурилуулах боломжтой болно. Ингэснээр та баталгаажуулах картыг хэвлэгчийн дээр тавьж хэвлэгчид нэвтрэх боломжтой. |