
|
|
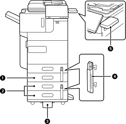
Unit kaset kertas (Tunggal)-P1 (Paper Cassette Unit (Single)-P1) |
Menambah kaset kertas C2 ke pencetak. |
|
|
Unit kaset kertas (Dual)-P2 (Paper Cassette Unit (Dual)-P2) |
Menambah kaset kertas C3 dan C4 ke pencetak. |
|
|
Penstabil-P1 (Stabiliser-P1) |
Menyokong pencetak untuk menghalang ia daripada terbalik. Ini mungkin tidak tersedia bergantung pada negara atau rantau anda. |
|
|
Kunci Kaset Kertas-P1 (Paper Cassette Lock-P1) |
Apabila pentadbir mahu mengurus penggunaan kertas, lekapkan ini ke kaset kertas dengan kunci pad untuk mengunci kaset tersebut. |
|
|
Jadual Peranti Pengesahan-P1 (Authentication Device Table-P1) atau Jadual Peranti Pengesahan-P2 (Authentication Device Table-P2) |
Membolehkan anda melekapkan peranti pengesahan yang disokong oleh pencetak. Kemudian, anda boleh mengelog masuk ke pencetak dengan memegang kad pengesahan di atas pencetak. |