
|
|
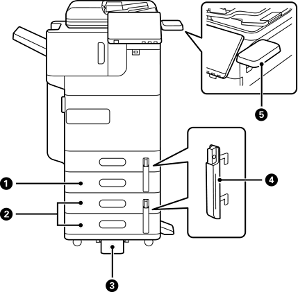
Kaseta na papier (Pojedyncza)-P1 (Paper Cassette Unit (Single)-P1) |
Dodawanie do drukarki kasety na papier C2. |
|
|
Kaseta na papier (Podwójna)-P2 (Paper Cassette Unit (Dual)-P2) |
Dodawanie do drukarki kaset na papier C3 i C4. |
|
|
Stabilizator-P1 (Stabiliser-P1) |
Podtrzymuje drukarkę, aby zapobiec jej przewróceniu. Mogą one nie być dostępne w zależności od kraju lub regionu. |
|
|
Blokada kasety na papier-P1 (Paper Cassette Lock-P1) |
Gdy administrator chce zarządzać zużyciem papieru, należy to założyć na dwie kasety na papier z kłódką, aby zablokować kasety. |
|
|
Tacka na urządzenie uwierzytelniające-P1 (Authentication Device Table-P1) lub Tacka na urządzenie uwierzytelniające-P2 (Authentication Device Table-P2) |
Umożliwia podłączenie obsługiwanego przez drukarkę urządzenia uwierzytelniającego. Następnie można zalogować się do drukarki, trzymając kartę uwierzytelniającą nad drukarką. |