
|
|
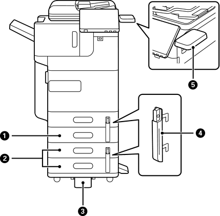
Unidade de cassete de papel (Individual)-P1 (Paper Cassette Unit (Single)-P1) |
Adiciona o alimentador de papel C2 à impressora. |
|
|
Unidade de cassete de papel (Dupla)-P2 (Paper Cassette Unit (Dual)-P2) |
Adiciona os alimentadores de papel C3 e C4 à impressora. |
|
|
Estabilizador-P1 (Stabiliser-P1) |
Apoia a impressora para evitar a sua queda. Podem não estar disponíveis, dependendo do seu país ou região. |
|
|
Bloqueio do alimentador de papel-P1 (Paper Cassette Lock-P1) |
Quando o administrador pretender gerir a utilização de papel, deve encaixar este item em dois alimentadores de papel com um cadeado para bloquear os alimentadores. |
|
|
Mesa de dispositivo de autenticação-P1 (Authentication Device Table-P1) ou Mesa de dispositivo de autenticação-P2 (Authentication Device Table-P2) |
Permite colocar um dispositivo de autenticação suportado pela impressora. Pode então iniciar sessão na impressora segurando um cartão de autenticação sobre a impressora. |