
|
|
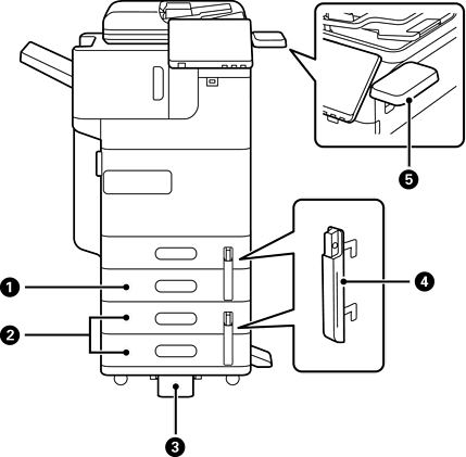
Кассета для бумаги (одинарная)-P1 (Paper Cassette Unit (Single)-P1) |
Позволяет дополнительно установить на принтере кассету для бумаги C2. |
|
|
Кассета для бумаги (двойная)-P2 (Paper Cassette Unit (Dual)-P2) |
Позволяет дополнительно установить на принтере кассеты для бумаги C3 и C4. |
|
|
Стабилизатор — P1 (Stabiliser-P1) |
Служит опорой принтера, предотвращая его опрокидывание. Может быть недоступен в вашей стране или регионе. |
|
|
Замок кассеты для бумаги — P1 (Paper Cassette Lock-P1) |
Если администратору необходимо контролировать использование бумаги, заблокируйте эти две кассеты для бумаги, установив замок. |
|
|
Таблица устройства аутентификации —P1 (Authentication Device Table-P1) или Таблица устройства аутентификации —P2 (Authentication Device Table-P2) |
Можно подсоединить устройство аутентификации, поддерживаемое принтером. После этого можно входить в систему принтера с помощью карточки аутентификации, поднеся ее к принтеру. |