
|
|
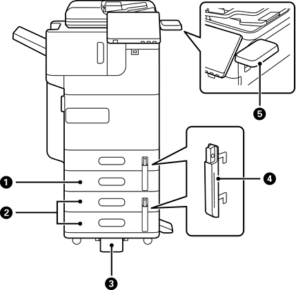
Kasetna enota za papir P1 (enojna) (Paper Cassette Unit (Single)-P1) |
Tiskalniku doda kaseto za papir C2. |
|
|
Kasetna enota za papir P2 (dvojna) (Paper Cassette Unit (Dual)-P2) |
Tiskalniku doda kaseti za papir C3 in C4. |
|
|
Stabilizator – P1 (Stabiliser-P1) |
Podpira tiskalnik, da se ne prevrne. Stabilizatorji morda niso na voljo v vaši državi ali regiji. |
|
|
Zaklep kasete za papir – P1 (Paper Cassette Lock-P1) |
Ko želi skrbnik upravljati porabo papirja, ga s ključavnico pritrdi na dve kaseti za papir, da zaklene kaseti. |
|
|
Miza za preverjanje pristnosti naprave – P1 (Authentication Device Table-P1) ali Miza za preverjanje pristnosti naprave – P2 (Authentication Device Table-P2) |
Omogoča priključitev naprave za preverjanje pristnosti, ki jo podpira tiskalnik. V tiskalnik se nato lahko prijavite tako, da nad njim pridržite kartico za preverjanje pristnosti. |