
|
|
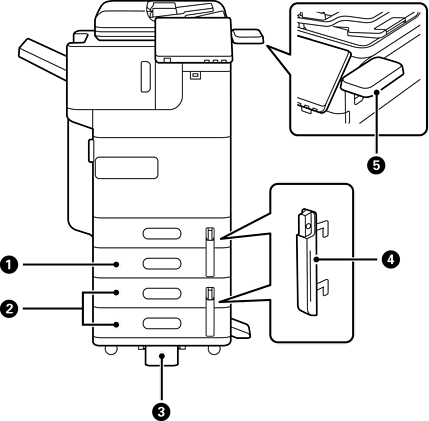
Jedinica kasete za papir (pojedinačna)-P1 (Paper Cassette Unit (Single)-P1) |
Dodaje kasetu za papir C2 štampaču. |
|
|
Jedinica kasete za papir (dupla)-P2 (Paper Cassette Unit (Dual)-P2) |
Dodaje papirne kasete C3 i C4 štampaču. |
|
|
Stabilizator-P1 (Stabiliser-P1) |
Podržava štampač da ne bi prevrnuo. Oni možda neće biti dostupni u zavisnosti od vaše zemlje ili regiona. |
|
|
Bravica kasete za papir-P1 (Paper Cassette Lock-P1) |
Kada administrator želi da upravlja upotrebom papira, pričvrstite ovo na dve kasete za papir pomoću katanca da biste zaključali kasete. |
|
|
Tabela uređaja za autentifikaciju-P1 (Authentication Device Table-P1) ili Tabela uređaja za autentifikaciju-P2 (Authentication Device Table-P2) |
Omogućava vam da priključite uređaj za autentizaciju koji podržava štampač. Zatim se možete prijaviti na štampač držanjem kartice za autentizaciju iznad štampača. |