
|
|
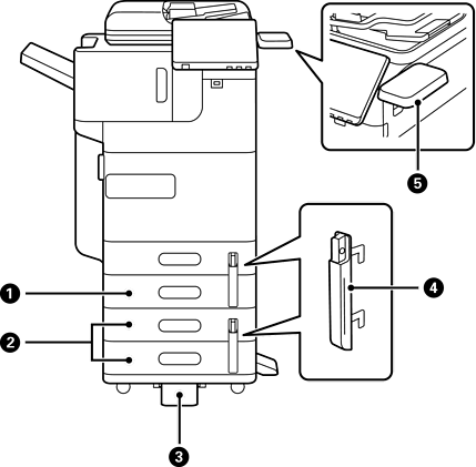
Papperskassettenhet (enskild)-P1 (Paper Cassette Unit (Single)-P1) |
Lägger till papperskassett C2 till skrivaren. |
|
|
Papperskassettenhet (dubbel)-P2 (Paper Cassette Unit (Dual)-P2) |
Lägger till papperskassetter C3 och C4 till skrivaren. |
|
|
Stabilisator-P1 (Stabiliser-P1) |
Stödjer skrivaren för att förhindra att den välter. Det kan hända att de inte är tillgängliga beroende på ditt land eller din region. |
|
|
Papperskassettlås-P1 (Paper Cassette Lock-P1) |
När administratören vill hantera pappersanvändningen kan du fästa den här på två papperskassetter med ett hänglås för att låsa kassetterna. |
|
|
Autentiseringsenhetstabell-P1 (Authentication Device Table-P1) eller Autentiseringsenhetstabell-P2 (Authentication Device Table-P2) |
Här kan du ansluta en autentiseringsenhet som stöds av skrivaren. Du kan sedan logga in på skrivaren genom att hålla ett autentiseringskort över skrivaren. |