
|
|
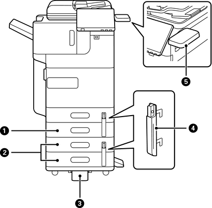
進紙匣單元 (單)-P1 (Paper Cassette Unit (Single)-P1) |
將進紙匣 C2 加裝至印表機。 |
|
|
進紙匣單元 (雙)-P2 (Paper Cassette Unit (Dual)-P2) |
將進紙匣 C3 和 C4 加裝至印表機。 |
|
|
穩定器-P1 (Stabiliser-P1) |
支撐印表機以避免翻倒。 您的所在國家或地區可能沒有提供這些配件。 |
|
|
進紙匣鎖-P1 (Paper Cassette Lock-P1) |
當管理員想要管理紙張使用情況時,請使用掛鎖將此裝到兩個進紙匣來鎖定進紙匣。 |
|
|
專用認證設備架-P1 (Authentication Device Table-P1) 或 專用認證設備架-P2 (Authentication Device Table-P2) |
可讓您安裝印表機支援的驗證裝置。將驗證卡置於印表機上方,即可登入印表機。 |