
|
|
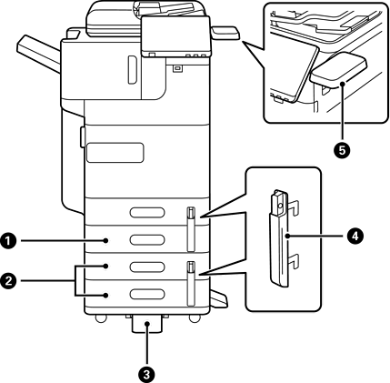
Bộ khay giấy (Đơn)-P1 (Paper Cassette Unit (Single)-P1) |
Thêm hộc đựng giấy C2 vào máy in. |
|
|
Bộ khay giấy (Kép)-P2 (Paper Cassette Unit (Dual)-P2) |
Thêm hộc đựng giấy C3 và C4 vào máy in. |
|
|
Bộ ổn định-P1 (Stabiliser-P1) |
Đỡ máy in để ngăn nó bị lật. Các bộ ổn định này có thể không có sẵn tùy vào quốc gia hoặc khu vực của bạn. |
|
|
Khóa hộc đựng giấy-P1 (Paper Cassette Lock-P1) |
Khi quản trị viên muốn quản lý hoạt động sử dụng giấy, hãy gắn bộ phận này vào 2 hộc đựng giấy bằng ổ khóa để khóa các hộc đựng giấy. |
|
|
Bảng thiết bị xác thực-P1 (Authentication Device Table-P1) hoặc Bảng thiết bị xác thực-P2 (Authentication Device Table-P2) |
Cho phép bạn gắn thiết bị xác thực được máy in hỗ trợ. Sau đó, bạn có thể đăng nhập vào máy in bằng cách giữ thẻ xác thực trên máy in. |