
|
|
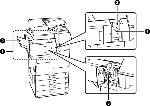
устройство за съшиване със скоби-P1 (Staple Finisher-P1) |
Сортира и подшива с телбод преди изваждане. Перфорира отвори с помощта на допълнителния модул за перфориране на отвор. Модулът зашива седловидно и сгъва хартията с помощта на допълнителния модул за седловидно зашиване. |
|
|
Тава за изваждане на оформена като брошура хартия |
Съдържа сгънати документи или документи със седловидно зашиване. |
|
|
Тава на финишъра |
Задържа сортирани или захванати с телбод документи. |
|
|
Изходна тава |
Придържа излизащата хартия. Можете да посочите тази тава като изходно местоназначение за получените факсове. |
|
|
Операционен панел за ръчно съшиване със скоби |
Използвайте това при ръчно съшиване със скоби. |
|
|
Горна изходна тава |
Придържа излизащата хартия. Не можете да посочите тази тава като изходно местоназначение. Хартията се изважда автоматично тук в зависимост от определени условия. |
|
|
Контейнер за отпадъците от перфориране |
Събира отпадъци от перфорирани отвори. |
|
|
Касета за телбод |
За плоско подшиване. |
|
|
Касета за телбод |
За подшиване с телбод. |

|
|
вътрешно устройство за съшиване-P1 (Inner finisher-P1) |
Сортира и подшива с телбод преди изваждане. Перфорира отвори с помощта на допълнителния модул за перфориране на отвор. |
|
|
Тава на финишъра |
Задържа сортирани или захванати с телбод документи. |
|
|
Перфоратор за отвори |
Перфорира отвори за подвързване. |
|
|
Тава за отпадъци от перфориране |
Събира отпадъци от перфорирани отвори. |
|
|
Касета за телбод |
За плоско подшиване. |

|
|
LAN порт |
Можете да използвате две кабелни LAN линии за монтиране на допълнителната платка за Ethernet мрежа. |
|
|
EXT. порт |
За свързване на външни телефонни устройства. |
|
|
LINE1 порт |
Можете да добавите до 3 линии. Можете да го използвате като факс или да го използвате като мрежов факс за изпращане и получаване на документи на Вашия компютър. В допълнение можете да свързвате към множество телефонни линии, като добавите платка за факс. Това Ви позволява да изпращате до различни местоназначения за кратко време или можете да определите една линия за получаване на факсове, което намалява времето, през което не можете да получавате обаждания. * *: Налични са външни телефони. |
|
|
LINE2 порт |
|
|
|
LINE3 порт |

|
|
Вътрешна поставка - P1 (Inner Tray-P1) |
Можете да посочите тази тава като изходно местоназначение за получените факсове. |
|
|
Тава на устройство за удостоверяване - P1 (Authentication Device Table-P1) или Тава на устройство за удостоверяване - P2 (Authentication Device Table-P2) |
Позволява Ви да прикрепите устройство за удостоверяване, поддържано от принтера. После можете да влизате в принтера, като държите карта за удостоверяване над принтера. |
|
|
Тава с голям капацитет - P1 (High Capacity Tray-P1) |
Позволява Ви да зареждате голямо количество хартия. |
|
|
Стабилизатор - P1 (Stabiliser-P1) |
Поддържа принтера, за да предотврати падането му. Стабилизаторите обикновено трябва да са прикрепени към четири точки. Ако е монтирано допълнителното устройство за съшиване със скоби или тава с голям капаците, стабилизаторите не могат да се прикрепят от страната, където е монтиран допълнителният елемент. Те може да не са налични в зависимост от Вашата страна или Вашия регион. |
|
|
Ролкова маса - P1 (Caster Table-P1) |
Позволява Ви лесно да местите принтера. |
|
|
Допълнителна двойна касета - P1 (Optional Dual Cassette-P1) |
Добавя касета за хартия C3 и C4 към принтера. |
|
|
Заключване на касета за хартия - P1 (Paper Cassette Lock-P1) |
Когато администраторът иска да управлява употребата на хартия, прикрепете това към двете касети за хартия с катинар, за да заключите касетите. |