
|
|
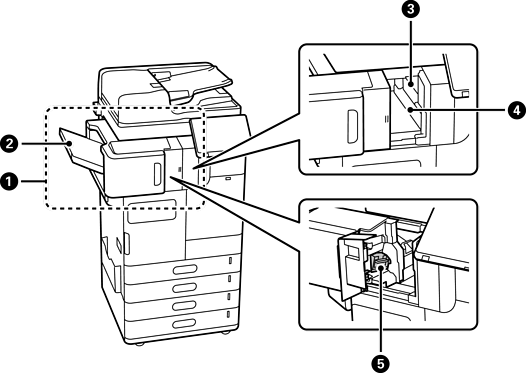
διάταξη συρραπτικού-P1 (Staple Finisher-P1) |
Εκτελεί ταξινόμηση και συρραφή του χαρτιού πριν την εξαγωγή του. Εκτελεί διάτρηση οπών με την προαιρετική μονάδα διάτρησης οπών. Συρράπτει και αναδιπλώνει χαρτί χρησιμοποιώντας την προαιρετική μονάδα συρραφής στη ράχη. |
|
|
Δίσκος φυλλαδίου |
Συγκρατεί αναδιπλωμένα έγγραφα ή έγγραφα με συρραφή στη ράχη. |
|
|
Δίσκος τελικής επεξεργασίας |
Συγκρατεί ταξινομημένα ή συρραμμένα έγγραφα. |
|
|
Δίσκος εξόδου |
Συγκρατεί το χαρτί που έχει εξέλθει. Μπορείτε να ορίσετε αυτόν το δίσκο μόνο ως προορισμό εξόδου για ληφθέντα φαξ. |
|
|
Πίνακας λειτουργίας για χειροκίνητη συρραφή |
Χρησιμοποιήστε τον όταν συρράπτετε χειροκίνητα. |
|
|
Επάνω δίσκος εξόδου |
Συγκρατεί το χαρτί που έχει εξέλθει. Δεν μπορείτε να καθορίσετε αυτόν τον δίσκο ως προορισμό εξόδου. Το χαρτί εξάγεται εδώ αυτόματα ανάλογα με ορισμένες συνθήκες. |
|
|
Κουτί υπολειμμάτων διάτρησης |
Συλλέγει τα υπολείμματα οπών διάτρησης. |
|
|
Δοχείο συρραπτικού |
Για επίπεδη συρραφή. |
|
|
Δοχείο συρραπτικού |
Για συρραφή στη ράχη. |

|
|
εσωτερική μονάδα φινιρίσματος-P1 (Inner finisher-P1) |
Εκτελεί ταξινόμηση και συρραφή του χαρτιού πριν την εξαγωγή του. Εκτελεί διάτρηση οπών με την προαιρετική μονάδα διάτρησης οπών. |
|
|
Δίσκος τελικής επεξεργασίας |
Συγκρατεί ταξινομημένα ή συρραμμένα έγγραφα. |
|
|
Μονάδα διάτρησης οπών |
Τρυπάει οπές για βιβλιοδεσία. |
|
|
Δίσκος υπολειμμάτων διάτρησης |
Συλλέγει τα υπολείμματα οπών διάτρησης. |
|
|
Δοχείο συρραπτικού |
Για επίπεδη συρραφή. |

|
|
Θύρα LAN |
Μπορείτε να χρησιμοποιήσετε δύο ενσύρματες γραμμές LAN εγκαθιστώντας την προαιρετική πλακέτα ethernet. |
|
|
Θύρα EXT. |
Συνδέει εξωτερικές συσκευές τηλεφώνου. |
|
|
Θύρα LINE1 |
Έχετε τη δυνατότητα να προσθέσετε έως 3 γραμμές. Μπορείτε να το χρησιμοποιήσετε ως φαξ ή ως φαξ δικτύου για αποστολή και λήψη εγγράφων στον υπολογιστή σας. Επιπλέον, μπορείτε να συνδεθείτε σε πολλαπλές τηλεφωνικές γραμμές προσθέτοντας μια κάρτα φαξ. Αυτό σας επιτρέπει να στείλετε έναν αριθμό προορισμών σε σύντομο χρονικό διάστημα ή μπορείτε να αφιερώσετε μία γραμμή στη λήψη φαξ, μειώνοντας έτσι τον χρόνο που δεν μπορείτε να λάβετε κλήσεις. * *: Τα εξωτερικά τηλέφωνα δεν είναι διαθέσιμα. |
|
|
Θύρα LINE2 |
|
|
|
Θύρα LINE3 |

|
|
Εσωτερικός δίσκος-P1 (Inner Tray-P1) |
Μπορείτε να ορίσετε αυτόν το δίσκο μόνο ως προορισμό εξόδου για ληφθέντα φαξ. |
|
|
Πίνακας συσκευών ελέγχου ταυτότητας-P1 (Authentication Device Table-P1) ή Πίνακας συσκευών ελέγχου ταυτότητας-P2 (Authentication Device Table-P2) |
Σας επιτρέπει να προσαρτήσετε μια συσκευή ελέγχου ταυτότητας που υποστηρίζεται από τον εκτυπωτή. Στη συνέχεια, μπορείτε να συνδεθείτε στον εκτυπωτή κρατώντας μια κάρτα ελέγχου ταυτότητας πάνω από τον εκτυπωτή. |
|
|
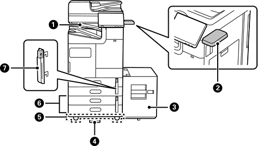
Δίσκος υψηλής χωρητικότητας-P1 (High Capacity Tray-P1) |
Σας επιτρέπει να τοποθετήσετε μεγάλη ποσότητα χαρτιού. |
|
|
Σταθεροποιητής-P1 (Stabiliser-P1) |
Υποστηρίζει τον εκτυπωτή για να αποτρέψει τυχόν ανατροπή του. Οι σταθεροποιητές πρέπει κανονικά να προσαρτώνται σε τέσσερα σημεία. Εάν έχει εγκατασταθεί η προαιρετική διάταξη συρραπτικού ή ο δίσκος υψηλής χωρητικότητας, οι σταθεροποιητές δεν μπορούν να προσαρτηθούν στην πλευρά όπου έχει εγκατασταθεί το προαιρετικό στοιχείο. Ενδέχεται να μην είναι διαθέσιμα, ανάλογα με την χώρα ή την περιοχή σας. |
|
|
Πίνακας με καρούλια-P1 (Caster Table-P1) |
Σας επιτρέπει να μετακινείτε εύκολα τον εκτυπωτή. |
|
|
Προαιρετική διπλή κασέτα-P1 (Optional Dual Cassette-P1) |
Προσθέτει τις κασέτες χαρτιού C3 και C4 στον εκτυπωτή. |
|
|
Κλείδωμα κασέτας χαρτιού-P1 (Paper Cassette Lock-P1) |
Εάν ο διαχειριστής θέλει να ελέγξει τη χρήση χαρτιού, προσαρτήστε αυτό σε δύο κασέτες χαρτιού με λουκέτο για να κλειδώσετε τις κασέτες. |