
|
|
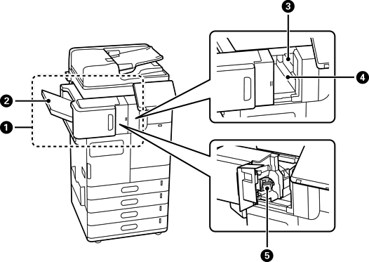
acabado con grapas-P1 (Staple Finisher-P1) |
Clasifica y grapa el papel antes de expulsarlo. Perfora orificios mediante la unidad perforadora opcional. Cose por el lomo y pliega el papel mediante la unidad de costura de lomo. |
|
|
Bandeja para folletos |
Sostiene documentos plegados o cosidos en el lomo. |
|
|
Bandeja de acabado |
Recibe los documentos clasificados o grapados. |
|
|
Bandeja de salida |
Retiene el papel expulsado. Solo puede especificar esta bandeja como destino de salida para los faxes recibidos. |
|
|
Panel de operación para grapas manuales |
Úselo cuando grape manualmente. |
|
|
Bandeja de salida superior |
Retiene el papel expulsado. No puede especificar esta bandeja como destino de salida. El papel se expulsa automáticamente aquí dependiendo de ciertas condiciones. |
|
|
Caja de residuos de perforado |
Recoge los restos de las perforaciones. |
|
|
Cartucho de grapas |
Para costura plana. |
|
|
Cartucho de grapas |
Para costuras en el lomo. |

|
|
acabado interior-P1 (Inner finisher-P1) |
Clasifica y grapa el papel antes de expulsarlo. Perfora orificios mediante la unidad perforadora opcional. |
|
|
Bandeja de acabado |
Recibe los documentos clasificados o grapados. |
|
|
Unidad de perforación |
Permite perforar agujeros para encuadernación. |
|
|
Bandeja de residuos de perforado |
Recoge los restos de las perforaciones. |
|
|
Cartucho de grapas |
Para costura plana. |

|
|
Puerto LAN |
Puede utilizar dos líneas LAN cableadas instalando la placa de Ethernet opcional. |
|
|
Puerto EXT. |
Permite la conexión a dispositivos telefónicos externos. |
|
|
Puerto LINE1 |
Puede agregar hasta 3 líneas. Puede usarlo como fax, o como fax de red para enviar y recibir documentos en su ordenador. Además, puede añadir una tarjeta de fax para conectarse a varias líneas telefónicas. Esto le permite realizar envíos a varios destinos en poco tiempo, o dedicar una línea para recibir faxes, lo que reduce el tiempo en que no puede recibir llamadas. * *: Los teléfonos externos no están disponibles. |
|
|
Puerto LINE2 |
|
|
|
Puerto LINE3 |

|
|
Bandeja interior-P1 (Inner Tray-P1) |
Solo puede especificar esta bandeja como destino de salida para los faxes recibidos. |
|
|
Cuadro de dispositivo de validación-P1 (Authentication Device Table-P1) o Cuadro de dispositivo de validación-P2 (Authentication Device Table-P2) |
Le permite acoplar un dispositivo de validación compatible con la impresora. A continuación, puede iniciar sesión en la impresora sosteniendo una tarjeta de autenticación sobre la impresora. |
|
|
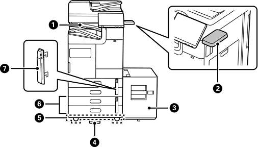
Bandeja de alta capacidad-P1 (High Capacity Tray-P1) |
Le permite cargar una gran cantidad de papel. |
|
|
Estabilizador-P1 (Stabiliser-P1) |
Soporta la impresora para evitar que se vuelque. Normalmente, los estabilizadores deben colocarse en cuatro puntos. Si está instalada la unidad de acabado con grapas o la bandeja de alta capacidad opcionales, los estabilizadores no se pueden colocar en el lado donde está instalado el elemento opcional. Es posible que no estén disponibles en función del país o región. |
|
|
Mesa con ruedas giratorias-P1 (Caster Table-P1) |
Le permite mover la impresora fácilmente. |
|
|
Cassette doble opcional-P1 (Optional Dual Cassette-P1) |
Agrega los cassettes de papel C3 y C4 a la impresora.. |
|
|
Bloqueo del cassette de papel-P1 (Paper Cassette Lock-P1) |
Cuando el administrador quiera administrar el uso de papel, acóplelo a dos cassettes de papel con un candado para bloquear estos. |