
|
|
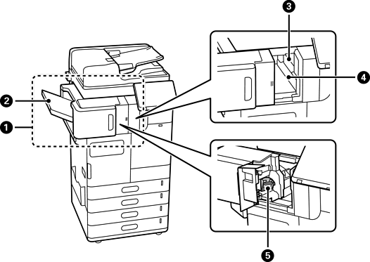
pengemas kokot-P1 (Staple Finisher-P1) |
Susun dan kokot kertas sebelum mengeluarkannya. Tebuk lubang menggunakan unit penumbuk lubang pilihan. Mencantum pelana dan melipat kertas menggunakan unit cantuman pelana pilihan. |
|
|
Dulang buku kecil |
Memegang dokumen berlipat atau bercantum pelana. |
|
|
Dulang penyudah |
Memegang dokumen yang disusun atau dikokot. |
|
|
Dulang output |
Memegang kertas yang dikeluarkan. Anda hanya boleh menentukan dulang ini sebagai destinasi output untuk faks yang diterima. |
|
|
Panel pengendalian untuk kokot manual |
Gunakan ini apabila mengokot secara manual. |
|
|
Dulang output atas |
Memegang kertas yang dikeluarkan. Anda tidak boleh menentukan dulang ini sebagai destinasi output. Kertas ditolak keluar secara automatik di sini bergantung pada keadaan tertentu. |
|
|
Kotak sisa tebuk |
Mengumpul cebisan kertas lubang tebuk. |
|
|
Katrij Kokot |
Untuk cantuman rata. |
|
|
Katrij Kokot |
Untuk mencantum pelana. |

|
|
pengemas dalaman-P1 (Inner finisher-P1) |
Susun dan kokot kertas sebelum mengeluarkannya. Tebuk lubang menggunakan unit penumbuk lubang pilihan. |
|
|
Dulang penyudah |
Memegang dokumen yang disusun atau dikokot. |
|
|
Unit Tebuk Lubang |
Menebuk lubang untuk pengikatan. |
|
|
Dulang lebihan tebukan |
Mengumpul cebisan kertas lubang tebuk. |
|
|
Katrij Kokot |
Untuk cantuman rata. |

|
|
Port LAN |
Anda boleh menggunakan dua talian LAN berwayar dengan memasang papan Ethernet pilihan. |
|
|
Port EXT. |
Sambungkan peranti telefon luaran. |
|
|
Port LINE1 |
Anda boleh menambah sehingga 3 talian. Anda boleh menggunakannya sebagai faks atau menggunakannya sebagai faks rangkaian untuk menghantar dan menerima dokumen pada komputer anda. Di samping itu, anda boleh menyambung ke beberapa talian telefon dengan menambahkan papan faks. Ini membolehkan anda menghantar ke beberapa destinasi dalam masa yang singkat, atau anda boleh mengkhususkan satu talian untuk menerima faks, dengan itu mengurangkan masa anda tidak boleh menerima panggilan. * *: Telefon luar tidak tersedia. |
|
|
Port LINE2 |
|
|
|
Port LINE3 |

|
|
Dulang Dalaman-P1 (Inner Tray-P1) |
Anda hanya boleh menentukan dulang ini sebagai destinasi output untuk faks yang diterima. |
|
|
Jadual Peranti Pengesahan-P1 (Authentication Device Table-P1) atau Jadual Peranti Pengesahan-P2 (Authentication Device Table-P2) |
Membolehkan anda melekapkan peranti pengesahan yang disokong oleh pencetak. Kemudian, anda boleh mengelog masuk ke pencetak dengan memegang kad pengesahan di atas pencetak. |
|
|
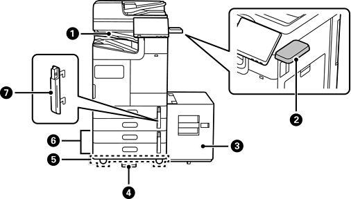
Dulang Kapasiti Tinggi-P1 (High Capacity Tray-P1) |
Membolehkan anda untuk memuatkan sejumlah besar kertas. |
|
|
Penstabil-P1 (Stabiliser-P1) |
Menyokong pencetak untuk menghalang ia daripada terbalik. Penstabil biasanya harus dilekapkan pada empat tempat. Jika penyudah kokot pilihan atau dulang kapasiti tinggi dipasang, penstabil tidak boleh dilekapkan di sisi tempat item pilihan dipasang. Ini mungkin tidak tersedia bergantung pada negara atau rantau anda. |
|
|
Jadual Penyiar-P1 (Caster Table-P1) |
Membolehkan anda mengalihkan pencetak dengan mudah. |
|
|
Kaset Dual Pilihan-P1 (Optional Dual Cassette-P1) |
Menambah kaset kertas C3 dan C4 ke pencetak. |
|
|
Kunci Kaset Kertas-P1 (Paper Cassette Lock-P1) |
Apabila pentadbir mahu mengurus penggunaan kertas, lekapkan ini ke kaset kertas dengan kunci pad untuk mengunci kaset tersebut. |