
|
|
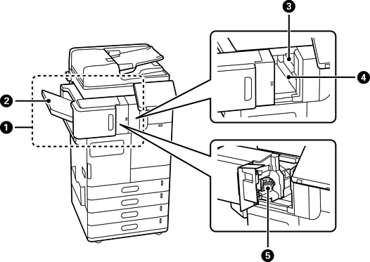
finiszer ze zszywaczem P1 (Staple Finisher-P1) |
Sortuje i zszywa papier przed wysunięciem. Wykonuje otwory opcjonalnym dziurkaczem. Siodłowe zszywanie i składanie papieru za pomocą opcjonalnej jednostki do zszywania siodłowego. |
|
|
Taca na broszury |
Mieści złożone lub zszyte siodłowo dokumenty. |
|
|
Taca finiszera |
Przytrzymuje poukładane wydruki lub zszyte dokumenty. |
|
|
Taca wyjściowa |
Przechowuje papier wysunięty z drukarki. Tę tacę można określić jedynie jako miejsce docelowe dla odbieranych faksów. |
|
|
Panel operacyjny do ręcznego zszywania |
Używany podczas ręcznego zszywania. |
|
|
Górna taca wyjściowa |
Przechowuje papier wysunięty z drukarki. Nie można określić tej tacy jako miejsca docelowego wyprowadzania. Papier jest tu automatycznie wysuwany w zależności od określonych warunków. |
|
|
Pojemnik na odpadki z dziurkacza |
Zbiera odpadki z dziurkacza. |
|
|
Wkład ze zszywkami |
Do zszywania na płasko. |
|
|
Wkład ze zszywkami |
Do zszywania z okładką. |

|
|
finiszer wewnętrzny P1 (Inner finisher-P1) |
Sortuje i zszywa papier przed wysunięciem. Wykonuje otwory opcjonalnym dziurkaczem. |
|
|
Taca finiszera |
Przytrzymuje poukładane wydruki lub zszyte dokumenty. |
|
|
Dziurkacz |
Wykonywanie otworów do bindowania. |
|
|
Taca na odpadki z dziurkacza |
Zbiera odpadki z dziurkacza. |
|
|
Wkład ze zszywkami |
Do zszywania na płasko. |

|
|
Port LAN |
Można użyć dwóch przewodowych linii LAN, poprzez instalację opcjonalnej karty Ethernetu. |
|
|
Port EXT. |
Podłączenie zewnętrznych urządzeń telefonicznych. |
|
|
Port LINE 1 |
Można dodać do 3 linii. Urządzenia można używać jako faksu albo faksu internetowego, aby wysyłać i odbierać dokumenty na komputerze. Ponadto można podłączyć wiele linii telefonicznych, instalując kartę faksu. Umożliwia to na szybkie wysyłanie do wielu miejsc docelowych albo przeznaczenie jednej linii do odbierania faksów, ograniczając czas, przez który nie można odbierać połączeń. * *: Nie można używać telefonów zewnętrznych. |
|
|
Port LINE 2 |
|
|
|
Port LINE 3 |

|
|
Taca wewnętrzna-P1 (Inner Tray-P1) |
Tę tacę można określić jedynie jako miejsce docelowe dla odbieranych faksów. |
|
|
Tacka na urządzenie uwierzytelniające-P1 (Authentication Device Table-P1) lub Tacka na urządzenie uwierzytelniające-P2 (Authentication Device Table-P2) |
Umożliwia podłączenie obsługiwanego przez drukarkę urządzenia uwierzytelniającego. Następnie można zalogować się do drukarki, trzymając kartę uwierzytelniającą nad drukarką. |
|
|
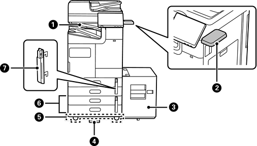
Taca o wysokiej pojemności-P1 (High Capacity Tray-P1) |
Umożliwia załadowanie dużej ilości papieru. |
|
|
Stabilizator-P1 (Stabiliser-P1) |
Podtrzymuje drukarkę, aby zapobiec jej przewróceniu. Stabilizatory powinny być zwykle mocowane w czterech punktach. Jeśli zainstalowano opcjonalny finiszer ze zszywaczem lub kasetę o dużej pojemności, stabilizatorów nie można zamocować po tej stronie, gdzie zainstalowano element opcjonalny. Mogą one nie być dostępne w zależności od kraju lub regionu. |
|
|
Stół z kółkami-P1 (Caster Table-P1) |
Umożliwia łatwe przenoszenie drukarki. |
|
|
Opcjonalna podwójna kaseta-P1 (Optional Dual Cassette-P1) |
Dodawanie do drukarki kaset na papier C3 i C4. |
|
|
Blokada kasety na papier-P1 (Paper Cassette Lock-P1) |
Gdy administrator chce zarządzać zużyciem papieru, należy to założyć na dwie kasety na papier z kłódką, aby zablokować kasety. |