> Podatki izdelkov > Tehnični podatki izdelkov > Mesto in prostor namestitve

Mesto in prostor namestitve

Če želite zagotoviti varno uporabo, tiskalnik postavite na mesto, ki ustreza tem pogojem.

  • Ravna, stabilna površina, ki vzdrži težo tiskalnika

  • Mesta, ki ne ovirajo in ne pokrivajo prezračevalnih rež in odprtin na tiskalniku

  • Mesta, kjer lahko enostavno naložite in odstranite papir

  • Mesta, ki ustrezajo zahtevam »Okoljskih specifikacij« tega priročnika

Pomembno:

Tiskalnika ne postavite na ta mesta, kajti v nasprotnem primeru lahko pride do okvare.

  • Mesto, izpostavljeno neposredni sončni svetlobi

  • Mesto, izpostavljeno hitrim temperaturnim spremembam in vlažnosti

  • Mesto, izpostavljeno požaru

  • Mesto, izpostavljeno škodljivim snovem

  • Mesto, izpostavljeno udarom ali vibracijam

  • Mesto v bližini televizorja ali radijskega sprejemnika

  • Mesto, ki je umazano ali prašno

  • Mesto v bližini vode

  • Mesto v bližini klimatske ali ogrevalne naprave

  • Mesto v bližini razvlaževalnika

Uporabite antistatično preprogo, da preprečite ustvarjanje statike na mestih, ki so podvržena tvorjenju statične elektrike.

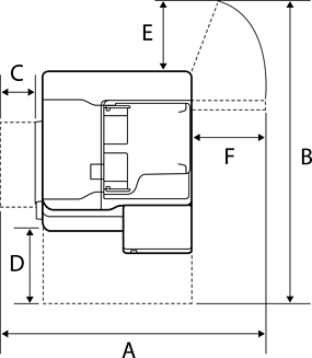
Poskrbite, da je v bližini tiskalnika dovolj prostora za postavitev in pravilno delovanje tiskalnika.

Tiskalnik

Sprednja stran

A

1588 mm

B

518 mm

Zgoraj

A

1065 mm

B

1238 mm

C

70 mm

D

435 mm

E

210 mm

F

441 mm

Z zaključevalnikom spenjanja

Sprednja stran

A

1588 mm

B

518 mm

Zgoraj

A

2076 mm

B

1260 mm

C

110 mm

D

210 mm

E

456 mm

Z notranji zaključevalnikom

Sprednja stran

A

1588 mm

B

518 mm

Zgoraj

A

1665 mm

B

1260 mm

C

117 mm

D

210 mm

E

456 mm