För att garantera säker användning placerar du skrivaren på en plats som uppfyller följande villkor.
En plan, stabil yta som kan hantera skrivarens vikt
Plats där det inte finns några blockeringar för skrivarens fläktar och öppningar
Platser där du kan fylla på och ta ur papper utan problem
Platser som uppfyller villkoren i ”Miljöspecifikationer” i den här bruksanvisningen
Placera inte skrivaren på följande platser; annars kan felfunktion uppstå.
Exponering för direkt solljus
Exponering för situationer där temperatur och luftfuktighet kan förändras snabbt
Exponering för brand
Exponering för flyktiga ämnen
Exponering för stötar och vibrationer
Nära TV eller radio
Nära omfattande smuts eller damm
Nära vatten
Nära luftkonditionering eller värmeutrustning
Nära en luftfuktare
Använd en kommersiellt tillgänglig, antistatisk matta för att förhindra bildande av statisk elektricitiet på platser som är benägna för det.
Säkra platsen tillfälligt för att installera och använda skrivaren på rätt sätt.
Skrivare
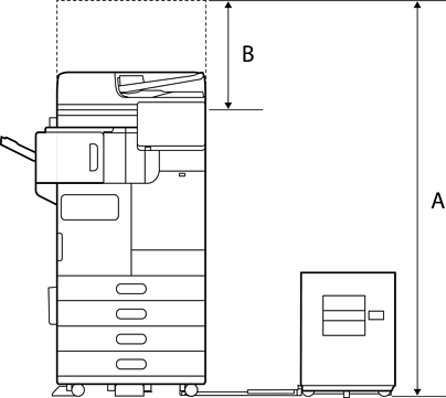
Framsida
|
A |
1588 mm |
|
B |
518 mm |
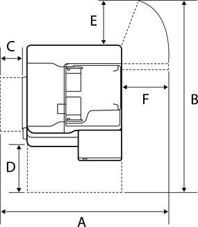
Ovan
|
A |
1065 mm |
|
B |
1238 mm |
|
C |
70 mm |
|
D |
435 mm |
|
E |
210 mm |
|
F |
441 mm |
Med staplare
Framsida
|
A |
1588 mm |
|
B |
518 mm |
Ovan
|
A |
2076 mm |
|
B |
1260 mm |
|
C |
110 mm |
|
D |
210 mm |
|
E |
456 mm |
Med inre efterbehandlare
Framsida
|
A |
1588 mm |
|
B |
518 mm |
Ovan
|
A |
1665 mm |
|
B |
1260 mm |
|
C |
117 mm |
|
D |
210 mm |
|
E |
456 mm |