
|
|
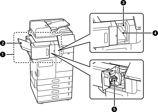
unitat d'acabat amb grapes-P1 (Staple Finisher-P1) |
Classifica i grapa el paper abans d'expulsar-lo. Perfora els forats amb la unitat de perforació de forats opcional. Enquaderna amb grapes i plega el paper amb la unitat d’enquadernació grapada opcional. |
|
|
Safata de fulletons |
Recull els documents plegats o enquadernats amb grapes. |
|
|
Safata del classificador |
Recull documents classificats o grapats. |
|
|
Safata de sortida |
Recull el paper expulsat. Només podeu especificar aquesta safata com a destinació de sortida dels faxos rebuts. |
|
|
Tauler d’operacions per a grapes manuals |
Utilitzeu-lo quan grapeu manualment. |
|
|
Safata de sortida superior |
Recull el paper expulsat. No podeu especificar aquesta safata com a destinació de sortida. El paper s'expulsa aquí automàticament en funció de determinades condicions. |
|
|
Caixa de residus de perforació |
Recull els residus dels forats perforats. |
|
|
Cartutx de grapes |
Per a enquadernació plana. |
|
|
Cartutx de grapes |
Per a enquadernació grapada. |

|
|
unitat d'acabat interior-P1 (Inner finisher-P1) |
Classifica i grapa el paper abans d'expulsar-lo. Perfora els forats amb la unitat de perforació de forats opcional. |
|
|
Safata del classificador |
Recull documents classificats o grapats. |
|
|
Unitat de perforació |
Perfora forats per enquadernar. |
|
|
Safata dels residus de perforació |
Recull els residus dels forats perforats. |
|
|
Cartutx de grapes |
Per a enquadernació plana. |

|
|
Port LAN |
Instal·leu la targeta d’Ethernet opcional per utilitzar dues línies LAN per cable. |
|
|
Port EXT. |
Connecta dispositius telefònics externs. |
|
|
Port LINE1 |
Podeu afegir fins a 3 línies. Podeu utilitzar-lo com a fax, o utilitzar-lo com un fax de xarxa per enviar i rebre documents al vostre ordinador. A més, podeu connectar-lo a diverses línies de telèfon afegint una targeta de fax. Aquesta opció us permet l'enviament a múltiples de destinacions en poc temps o dedicar una línia a la recepció de faxos i, d'aquesta manera, reduir el temps que no podeu rebre trucades. * *: No estan disponibles els telèfons externs. |
|
|
Port LINE2 |
|
|
|
Port LINE3 |

|
|
Safata interna-P1 (Inner Tray-P1) |
Només podeu especificar aquesta safata com a destinació de sortida dels faxos rebuts. |
|
|
Taula del dispositiu d'autenticació-P1 (Authentication Device Table-P1) o Taula del dispositiu d'autenticació-P2 (Authentication Device Table-P2) |
Permet connectar un dispositiu d'autenticació compatible amb la impressora. D'aquesta manera podeu iniciar sessió a la impressora passant una targeta d'autenticació sobre la impressora. |
|
|
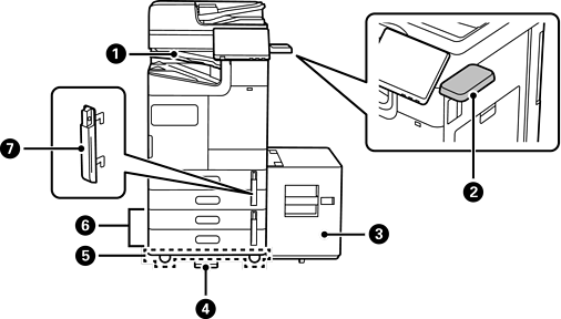
Safata d'alta capacitat-P1 (High Capacity Tray-P1) |
Permet carregar una gran quantitat de paper. |
|
|
Estabilitzador-P1 (Stabiliser-P1) |
Sosté la impressora per evitar que es bolqui. Els estabilitzadors normalment s'han de fixar a quatre punts. Si la unitat d'acabat amb grapes o la safata d'alta capacitat estan instal·lades, els estabilitzadors no es poden col·locar a la banda on hi ha instal·lat l'element opcional. Pot ser que aquestes opcions no estiguin disponibles segons el vostre país o regió. |
|
|
Taula de rodetes-P1 (Caster Table-P1) |
Permet moure la impressora fàcilment. |
|
|
Calaix dual opcional-P1 (Optional Dual Cassette-P1) |
Afegeix calaixos de paper C3 i C4 a la impressora. |
|
|
Bloqueig del calaix de paper-P1 (Paper Cassette Lock-P1) |
Quan l'administrador vol controlar l'ús de paper, es fixa a dos calaixos de paper amb un cadenat per bloquejar-los. |