
|
|
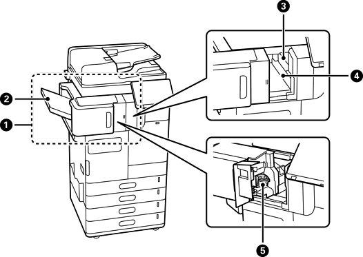
hæfteefterbehandler-P1 (Staple Finisher-P1) |
Sorterer og hæfter papir, før det skubbes ud. Lave huller med den valgfrie hulningsenhed. Ryghæftning og foldning af papir ved brug af ryghæftningsenheden (ekstraudstyr). |
|
|
Brochurebakke |
Holder foldede eller ryghæftede dokumenter. |
|
|
Bakke til efterbehandler |
Rummer sorterede eller hæftede dokumenter. |
|
|
Udbakke |
Rummer det udskubbede papir. Det er kun muligt at angive denne bakke som udsendelsesdestination til modtagne faxer. |
|
|
Betjeningspanel til manuel hæftning |
Vælg dette punkt når du bruger manuel hæftning. |
|
|
Udbakke foroven |
Rummer det udskubbede papir. Det er ikke muligt at angive denne bakke som udsendelsesdestination. Papiret skubbes automatisk ud her, afhængigt af bestemte forhold. |
|
|
Kasse til spild fra huller |
Opsamler spild fra huller. |
|
|
Hæftepatron |
Til flad hæftning. |
|
|
Hæftepatron |
Til ryghæftning. |

|
|
indreefterbehandler-P1 (Inner finisher-P1) |
Sorterer og hæfter papir, før det skubbes ud. Lave huller med den valgfrie hulningsenhed. |
|
|
Bakke til efterbehandler |
Rummer sorterede eller hæftede dokumenter. |
|
|
Hulningsenhed |
Laver huller til indbinding. |
|
|
Beholder til spild fra huller |
Opsamler spild fra huller. |
|
|
Hæftepatron |
Til flad hæftning. |

|
|
LAN-port |
Det er muligt at bruge to kabelforbundneLAN forbindelser ved at installere et ethernet-kort (ekstraudstyr). |
|
|
EXT.-port |
Bruges til tilslutning af telefonenheder. |
|
|
LINE1-port |
Der kan tilføjes op til 3 linjer. Du kan bruge den som en fax eller som netværksfax til at sende og modtage dokumenter på din computer. Derudover kan du oprette forbindelse til flere telefonlinjer ved at tilføje et faxkort. Dette giver dig mulighed for at sende til et antal destinationer på kort tid, eller du kan dedikere en linje til at modtage faxer og dermed reducere det tidsrum, hvor du ikke kan modtage opkald. * *: Eksterne telefoner er ikke tilgængelige. |
|
|
LINE2-port |
|
|
|
LINE3-port |

|
|
Indre bakke-P1 (Inner Tray-P1) |
Det er kun muligt at angive denne bakke som udsendelsesdestination til modtagne faxer. |
|
|
Autentifikationsenhedstabel-P1 (Authentication Device Table-P1) eller Autentifikationsenhedstabel-P2 (Authentication Device Table-P2) |
Giver dig mulighed for at tilslutte en godkendelsesenhed, som printeren kan bruges med. Du kan derefter logge på printeren ved at holde et godkendelseskort over printeren. |
|
|
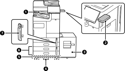
Højkapacitetsbakke-P1 (High Capacity Tray-P1) |
Giver dig mulighed for at lægge en stor mængde papir i printeren. |
|
|
Stabilisator-P1 (Stabiliser-P1) |
Støtter printeren, så den ikke vælter. Stabilisatorerne skal normalt spændes fast fire steder. Hvis efterbehandleren til hæftning eller højkapacitetsbakken (ekstraudstyr) installeres, kan stabilisatorerne ikke spændes fast på siden, hvor ekstraudstyret er installeret. Dette er muligvis ikke tilgængeligt, afhængigt af land eller område. |
|
|
Hjulbord-P1 (Caster Table-P1) |
Gør printeren nem at flytte. |
|
|
Dobbelt kassette-P1 (ekstraudstyr) (Optional Dual Cassette-P1) |
Tilføjer papirkassetter C3 ogC4 til printeren. |
|
|
Papirkassettelås-P1 (Paper Cassette Lock-P1) |
Hvis administratoren ønsker at styre papirforbruget, skal disse to papirkassetter låses fast med en hængelås. |