
|
|
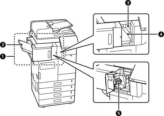
köiteviimistleja P1 (Staple Finisher-P1) |
Sorteerib ja klammerdab paberi enne selle väljutamist. Augustab valikulise augustajaga. Sadulköide ja paberi voltimine, kasutades valikulist sadulklammerdajat. |
|
|
Voldiku salv |
Volditud või sadulklammerdajaga köidetud dokumentidele. |
|
|
Viimistleja salv |
Hoiab sorditud või klammerdatud dokumente. |
|
|
Väljastussalv |
Hoiab väljastatud paberit. Selle salve saab määrata ainult vastuvõetud fakside väljundkohaks. |
|
|
Juhtpaneel käsitsi klammerdamiseks |
Kasutage seda käsitsi klammerdamisel. |
|
|
Ülemine väljastussalv |
Hoiab väljastatud paberit. Seda salve ei saa määrata väljundiks. Sõltuvalt tingimustest väljutatakse paber siia automaatselt. |
|
|
Augustamisjäätmete karp |
Kogub augustamisjääke. |
|
|
Klambrikassett |
Küljelt köitmiseks. |
|
|
Klambrikassett |
Seljaveerisest köitmiseks |

|
|
sisemine viimistleja P1 (Inner finisher-P1) |
Sorteerib ja klammerdab paberi enne selle väljutamist. Augustab valikulise augustajaga. |
|
|
Viimistleja salv |
Hoiab sorditud või klammerdatud dokumente. |
|
|
Augustaja |
Teeb köitmisauke. |
|
|
Augustamisjäätmete salv |
Kogub augustamisjääke. |
|
|
Klambrikassett |
Küljelt köitmiseks. |

|
|
LAN-port |
Valikulise Etherneti-liidese paigaldamisel saate kasutada kahte LAN-kaabliliini. |
|
|
EXT.-port |
Väliste telefonide ühendamiseks. |
|
|
LINE1-port |
Saate lisada kuni 3 liini. Võite seda kasutada faksi või võrgufaksina, et oma arvuti kaudu dokumente saata ja vastu võtta. Lisaks saate faksiplaadi lisamisel ühendada mitu telefoniliini. See võimaldab saata dokumente lühikese aja jooksul mitmetesse sihtkohtadesse või määrata ühe liini fakside vastuvõtmise jaoks, vähendades nii aega, mil te ei saa kõnesid vastu võtta. * *: Välised telefonid ei ole saadaval. |
|
|
LINE2-port |
|
|
|
LINE3-port |

|
|
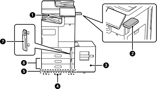
Sisemine salv – P1 (Inner Tray-P1) |
Selle salve saab määrata ainult vastuvõetud fakside väljundkohaks. |
|
|
Autentimisseadme laud – P1 (Authentication Device Table-P1) või Autentimisseadme laud – P2 (Authentication Device Table-P2) |
Võimaldab ühendada printeri toetatava autentimisseadme. Seejärel saate printerisse sisse logida, hoides autentimiskaarti printeri kohal. |
|
|
Suur salv – P1 (High Capacity Tray-P1) |
Võimaldab laadida suure hulga paberit. |
|
|
Stabilisaator – P1 (Stabiliser-P1) |
Toetab printerit, et vältida selle ümberminekut. Toed tuleb kinnitada neljast kohast. Kui paigaldatud on valikuline köiteviimistleja või suuremahuline salv, ei saa tugesid kinnitada küljele, kus asub valikuline osa. Need ei pruugi sõltuvalt või regioonist saadaval olla. |
|
|
Ratastega laud – P1 (Caster Table-P1) |
Võimaldab printerit hõlpsalt teisaldada. |
|
|
Valikuline topeltkassett – P1 (Optional Dual Cassette-P1) |
Lisab printerile C3 ja C4 paberikassetid. |
|
|
Paberikasseti lukk – P1 (Paper Cassette Lock-P1) |
Kui administraator soovib paberikasutust hallata, kinnitage kahe tabalukuga paberikasseti külge, et kassetid lukustada. |