
|
|
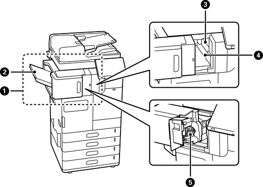
finisher staples-P1 (Staple Finisher-P1) |
Mengurutkan dan menstaple kertas sebelum mengeluarkannya. Melubangi kertas menggunakan unit pelubang kertas opsional. Jahitan sadel dan lipat kertas menggunakan unit jilid jahit opsional. |
|
|
Baki buklet |
Memegang dokumen yang dilipat atau penjilidan yang dijahit. |
|
|
Baki finisher |
Menyimpan dokumen yang disortir atau distaple. |
|
|
Baki keluaran |
Menampung kertas yang dikeluarkan. Anda hanya dapat menentukan baki ini sebagai tujuan keluaran untuk faks yang diterima. |
|
|
Panel operasi untuk staples manual |
Gunakan ini saat menjilid secara manual. |
|
|
Baki keluaran atas |
Menampung kertas yang dikeluarkan. Anda tidak dapat menentukan baki ini sebagai tujuan keluaran. Kertas dikeluarkan secara otomatis di sini bergantung pada kondisi tertentu. |
|
|
Baki buangan pelubangan |
Menampung serpihan lubang kertas. |
|
|
Kartrid Staple |
Untuk jahitan datar. |
|
|
Kartrid Staple |
Untuk jahitan bersela. |

|
|
finisher bagian dalam-P1 (Inner finisher-P1) |
Mengurutkan dan menstaple kertas sebelum mengeluarkannya. Melubangi kertas menggunakan unit pelubang kertas opsional. |
|
|
Baki finisher |
Menyimpan dokumen yang disortir atau distaple. |
|
|
Unit Pelubang Kertas |
Pelubang kertas untuk penjilidan. |
|
|
Baki serpihan lubang |
Menampung serpihan lubang kertas. |
|
|
Kartrid Staple |
Untuk jahitan datar. |

|
|
Port LAN |
Anda dapat menggunakan dua jalur kabel LAN dengan memasang papan ethernet opsional. |
|
|
Port EXT. |
Menghubungkan perangkat telepon eksternal. |
|
|
Port LINE1 |
Anda dapat menambahkan hingga 3 saluran. Anda dapat menggunakannya sebagai faks, atau faks jaringan untuk mengirim dan menerima dokumen di komputer Anda. Selain itu, Anda dapat menyambung ke beberapa saluran telepon dengan menambahkan papan faks. Dengan demikian, Anda dapat mengirim ke beberapa tujuan dengan cepat, atau mengkhususkan satu saluran untuk menerima faks sehingga Anda tetap dapat menerima telepon. * *: Telepon eksternal tidak tersedia. |
|
|
Port LINE2 |
|
|
|
Port LINE3 |

|
|
Baki Dalam-P1 (Inner Tray-P1) |
Anda hanya dapat menentukan baki ini sebagai tujuan keluaran untuk faks yang diterima. |
|
|
Tabel Perangkat Autentikasi-P1 (Authentication Device Table-P1) atau Tabel Perangkat Autentikasi-P2 (Authentication Device Table-P2) |
Memungkinkan Anda memasang perangkat autentikasi yang didukung oleh printer. Anda kemudian dapat masuk ke printer dengan meletakkan kartu autentikasi di atas printer. |
|
|
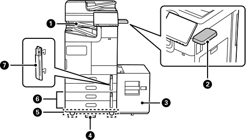
Baki Kapasitas Besar-P1 (High Capacity Tray-P1) |
Memungkinkan Anda memuat kertas dalam jumlah besar. |
|
|
Stabilisator-P1 (Stabiliser-P1) |
Mendukung printer agar tidak terbalik. Stabilisator biasanya harus dipasang pada empat titik. Jika staple finisher opsional atau baki berkapasitas tinggi dipasang, stabilisator tidak dapat dipasang di sisi tempat item opsional dipasang. Ini mungkin tidak tersedia bergantung pada negara atau wilayah Anda. |
|
|
Meja Kaster-P1 (Caster Table-P1) |
Memungkinkan Anda memindahkan printer dengan mudah. |
|
|
Kaset Ganda Opsional-P1 (Optional Dual Cassette-P1) |
Menambahkan kaset kertas C3 dan C4 ke printer. |
|
|
Kunci Kaset Kertas-P1 (Paper Cassette Lock-P1) |
Saat administrator ingin mengatur penggunaan kertas, pasang ini ke dua kaset kertas dengan gembok untuk mengunci kaset. |