
|
|
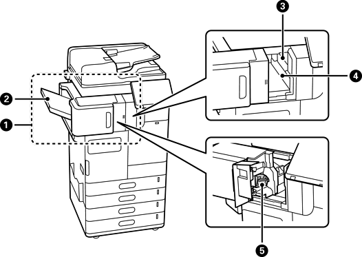
finisher per pinzatura-P1 (Staple Finisher-P1) |
Ordina e pinza la carta prima di espellerla. Pratica fori tramite l’unità opzionale di perforazione. Eseguire la cucitura a sella e piegatura della carta utilizzando l'unità di pinzatura a sella opzionale. |
|
|
Vassoio libretti |
Contiene i documenti piegati o pinzati a sella. |
|
|
Vassoio del finisher |
Trattiene i documenti ordinati o pinzati. |
|
|
Vassoio di uscita |
Trattiene la carta espulsa. È possibile specificare solo questo vassoio come destinazione di uscita per i fax ricevuti. |
|
|
Pannello operativo per pinzatura manuale |
Utilizzarlo quando si pinza a mano. |
|
|
Vassoio di uscita superiore |
Trattiene la carta espulsa. Non è possibile specificare questo vassoio come destinazione di uscita. La carta viene espulsa automaticamente qui in base a determinate condizioni. |
|
|
Contenitore degli scarti di perforazione |
Raccoglie gli scarti dei fori praticati. |
|
|
Cartuccia di graffette |
Per cucitura piatta. |
|
|
Cartuccia di graffette |
Per cucitura a sella. |

|
|
finisher interno-P1 (Inner finisher-P1) |
Ordina e pinza la carta prima di espellerla. Pratica fori tramite l’unità opzionale di perforazione. |
|
|
Vassoio del finisher |
Trattiene i documenti ordinati o pinzati. |
|
|
Unità di perforazione |
Fori perforati per la fascicolazione. |
|
|
Vassoio degli scarti di perforazione |
Raccoglie gli scarti dei fori praticati. |
|
|
Cartuccia di graffette |
Per cucitura piatta. |

|
|
Porta LAN |
È possibile utilizzare due linee LAN cablate installando la scheda Ethernet opzionale. |
|
|
Porta EXT. |
Consente il collegamento di telefoni esterni. |
|
|
Porta LINE1 |
È possibile aggiungere fino a 3 linee. È possibile utilizzarla come un fax o come un fax di rete per inviare e ricevere documenti sul computer. Inoltre, è possibile connettersi a linee telefoniche multiple aggiungendo una scheda fax. Ciò consente di inviare a più destinazioni in breve tempo, o di dedicare una linea alla ricezione di fax riducendo così il tempo in cui non è possibile ricevere chiamate. * *: Non sono disponibili telefoni esterni. |
|
|
Porta LINE2 |
|
|
|
Porta LINE3 |

|
|
Vassoio interno-P1 (Inner Tray-P1) |
È possibile specificare solo questo vassoio come destinazione di uscita per i fax ricevuti. |
|
|
Tabella dispositivo di autenticazione-P1 (Authentication Device Table-P1) o Tabella dispositivo di autenticazione-P2 (Authentication Device Table-P2) |
Consente di collegare un dispositivo di autenticazione supportato dalla stampante. È quindi possibile accedere alla stampante appoggiando una scheda per l’autenticazione sopra la stampante. |
|
|
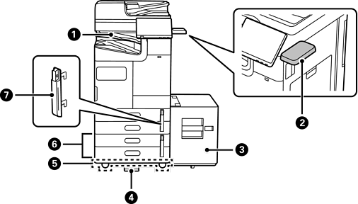
Vassoio a grande capacità-P1 (High Capacity Tray-P1) |
Consente di caricare una grande quantità di carta. |
|
|
Stabilizzatore-P1 (Stabiliser-P1) |
Sostiene la stampante per evitare che si ribalti. Gli stabilizzatori devono normalmente essere fissati a quattro punti. Se si installa l'unità di finitura con pinzatura opzionale o il vassoio ad alta capacità, gli stabilizzatori non possono essere fissati sul lato in cui è installato l'elemento opzionale. Potrebbero non essere disponibili nel proprio paese o nella propria regione. |
|
|
Supporto con rotelle-P1 (Caster Table-P1) |
Consente di spostare facilmente la stampante. |
|
|
Cassetto doppio opzionale-P1 (Optional Dual Cassette-P1) |
Aggiunge i cassetti carta C3 e C4 alla stampante. |
|
|
Blocco del cassetto carta-P1 (Paper Cassette Lock-P1) |
Quando l'amministratore desidera gestire l'uso della carta, collegarlo a due cassetti carta con un lucchetto per bloccare i cassetti. |