
|
|
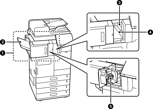
스테이플 피니셔-P1 |
용지를 배출하기 전에 정렬하고 스테이플로 고정합니다. 옵션 홀 펀치 유닛을 사용하여 펀치 구멍을 냅니다. 옵션의 중철 유닛을 사용하여 중철과 접지를 진행합니다. |
|
|
소책자 트레이 |
접히거나 중철된 문서를 보관합니다. |
|
|
피니셔 트레이 |
정렬 또는 스테이플 처리된 문서를 보관합니다. |
|
|
출력 트레이 |
배출된 용지가 놓입니다. 이 트레이는 수신된 팩스의 출력 대상으로만 지정할 수 있습니다. |
|
|
수동 스테이플링용 조작 패널 |
수동으로 스테이플링할 때 사용합니다. |
|
|
상단 배출 트레이 |
배출된 용지가 놓입니다. 이 트레이는 출력 대상으로 지정할 수 없습니다. 이곳에서 특정 조건에 따라 자동으로 용지가 배출됩니다. |
|
|
펀치 쓰레기통 |
펀치 구멍 스크랩을 수집합니다. |
|
|
스테이플 카트리지 |
플랫 스티치용 |
|
|
스테이플 카트리지 |
중철용 |

|
|
이너 피니셔-P1 |
용지를 배출하기 전에 정렬하고 스테이플로 고정합니다. 옵션 홀 펀치 유닛을 사용하여 펀치 구멍을 냅니다. |
|
|
피니셔 트레이 |
정렬 또는 스테이플 처리된 문서를 보관합니다. |
|
|
홀 펀치 유닛 |
바인딩을 위한 구멍을 뚫습니다. |
|
|
펀치 쓰레기통 |
펀치 구멍 스크랩을 수집합니다. |
|
|
스테이플 카트리지 |
플랫 스티치용 |

|
|
LAN 포트 |
옵션 이더넷 보드를 설치하면 유선 LAN 라인 두 개를 사용할 수 있습니다. |
|
|
EXT. 포트 |
외부 전화기를 연결합니다. |
|
|
LINE1 포트 |
최대 3 개의 회선을 추가할 수 있습니다. 팩스로 사용하거나 네트워크 팩스로 사용하여 컴퓨터에서 문서를 주고 받을 수 있습니다. 팩스 보드를 추가하여 여러 전화선에 연결할 수도 있습니다. 이를 통해 짧은 시간 안에 여러 목적지로 보낼 수 있으며, 팩스 수신 전용 회선 하나를 설정하여 전화를 받을 수 없는 시간을 줄일 수 있습니다. * *:외부 전화는 사용할 수 없습니다. |
|
|
LINE2 포트 |
|
|
|
LINE3 포트 |

|
|
이너 트레이-P1 |
이 트레이는 수신된 팩스의 출력 대상으로만 지정할 수 있습니다. |
|
|
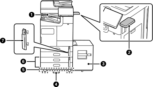
인증 장치 받침대-P1 또는 인증 장치 받침대-P2 |
프린터에서 지원하는 인증 장치를 연결할 수 있습니다. 그런 다음 프린터 위에 인증 카드를 대면 프린터에 로그온할 수 있습니다. |
|
|
고용량 트레이-P1 |
많은 양의 용지를 적재할 수 있습니다. |
|
|
안정 장치-P1 |
프린터가 넘어지지 않도록 지지합니다. 안정 장치는 일반적으로 4개 지점에 부착해야 합니다. 옵션 스테이플 피니셔 또는 대용량 트레이가 설치된 경우, 옵션 아이템이 설치된 측면에는 안정 장치를 부착할 수 없습니다. 국가 또는 지역에 따라 사용하지 못할 수도 있습니다. |
|
|
바퀴 테이블-P1 |
프린터를 쉽게 이동할 수 있습니다. |
|
|
옵션 듀얼 카세트-P1 |
용지 카세트 C3 및 C4를 프린터에 추가합니다. |
|
|
용지 카세트 잠금 장치-P1 |
관리자가 용지 사용량을 관리하고자 할 경우 자물쇠로 2 개의 용지 카세트에 부착하여 카세트를 잠급니다. |