
|
|
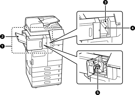
үдэлт гүйцээгч-P1 (Staple Finisher-P1) |
Цаасыг гаргахыг өмнө ангилж, үднэ. Дурын нүх шивэх нэгжийг ашиглана нүхийг шивнэ. Сонголтоор суурилуулах дэвтэрлэж үдэх нэгжийг ашиглан цаасыг дэвтэрлэж үдээд нугална. |
|
|
Товхимолын тавиур |
Нугалсан эсвэл дэвтэрлэж үдсэн баримтыг хадгална. |
|
|
Эцсийн боловсруулалтын тавиур |
Эрэмбэлсэн ба үдсэн бичиг баримтыг барина. |
|
|
Гаралтын тэвш |
Гаргасан цаасыг тогтооно. Та энэ тавиурыг хүлээн авсан факсыг гаргах газар болгож тохируулж болно. |
|
|
Гараар үдэхэд зориулсан ажиллагааны самбар |
Гараар үдэх үед үүнийг ашиглаарай. |
|
|
Дээд гаралтын тавиур |
Гаргасан цаасыг тогтооно. Та энэ тавиурыг гаргах газар болгож тохируулж болохгүй. Тодорхой нөхцөл бүрдсэн үед энд цаасыг автоматаар гаргадаг. |
|
|
Цоолтуурын хогийн хайрцаг |
Цоолсон нүхний үйрмэгийг цуглуулна. |
|
|
Бичгийн хавчаарны бортого |
Хавтгай үдэхэд зориулсан. |
|
|
Бичгийн хавчаарны бортого |
Дэвтэрлэж үдэхэд зориулсан. |

|
|
дотор гүйцээгч-P1 (Inner finisher-P1) |
Цаасыг гаргахыг өмнө ангилж, үднэ. Дурын нүх шивэх нэгжийг ашиглана нүхийг шивнэ. |
|
|
Эцсийн боловсруулалтын тавиур |
Эрэмбэлсэн ба үдсэн бичиг баримтыг барина. |
|
|
Нүх цоологч |
Нуруулдах нүхийг цоолно. |
|
|
Цоолсон хогны тавиур |
Цоолсон нүхний үйрмэгийг цуглуулна. |
|
|
Бичгийн хавчаарны бортого |
Хавтгай үдэхэд зориулсан. |

|
|
LAN порт |
Та нэмэлт этернэт боардыг суурилуулж хоёр утастай LAN шугам ашиглах боломжтой. |
|
|
EXT. порт |
Гадаад утасны төхөөрөмжийг холбоно. |
|
|
LINE1 порт |
Та 3 хүртэлх шугам нэмж болно. Та үүнийг факс болгож ашиглах эсвэл компьютер дээр бичиг баримт илгээх, хүлээн авахдаа сүлжээний факс болгон ашиглаж болно. Мөн дээрээс нь та факсын хавтан нэмж хэд хэдэн утасны шугам холбох боломжтой. Ингэснээр та богино хугацаанд олон товлосон газар руу илгээж, эсвэл нэг шугамын факс хүлээн авахад зориулж дуудлага хүлээн авч чадахгүй цагийг багасгах боломжтой. * *: Гадаад утас боломжгүй. |
|
|
LINE2 порт |
|
|
|
LINE3 порт |

|
|
Дотоод тавиур-P1 (Inner Tray-P1) |
Та энэ тавиурыг хүлээн авсан факсыг гаргах газар болгож тохируулж болно. |
|
|
Баталгаажуулах төхөөрөмжийн хүснэгт-P1 (Authentication Device Table-P1) эсвэл Баталгаажуулах төхөөрөмжийн хүснэгт-P2 (Authentication Device Table-P2) |
Принтерээс дэмжих баталгаажуулах төхөөрөмжийг суурилуулах боломжтой болно. Ингэснээр та баталгаажуулах картыг хэвлэгчийн дээр тавьж хэвлэгчид нэвтрэх боломжтой. |
|
|
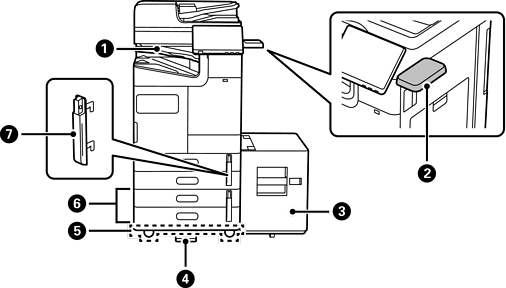
Өндөр багтаамжтай тавиур-P1 (High Capacity Tray-P1) |
Их хэмжээний цаасыг ачаалах боломжтой болно. |
|
|
Тогтворжуулагч-P1 (Stabiliser-P1) |
Хэвлэгчийг хажуугаараа унахаас сэргийлнэ. Тэнцвэржүүлэгчийг ерөнхийдөө ихэвчлэн дөрвөн цэгт суурилуулдаг. Хэрэв нэмэлт үдэлт гүйцээгч эсвэл их багтаамжтай тавиур суурилуулагдсан бол, нэмэлт эд ангийг суурилуулсан талд тэнцвэржүүлэгчийг суулгах боломжгүй. Эдгээрийг таны байгаа улс эсвэл бүс нутагт ашиглах боломжгүй байж магадгүй. |
|
|
Дугуйт тавцан-P1 (Caster Table-P1) |
Хэвлэгчийг хялбархан зөөх боломжтой болно. |
|
|
Сонголттой хос хуурцаг-P1 (Optional Dual Cassette-P1) |
Цаасан кассет C3 болон C4-г хэвлэгчид нэмнэ. |
|
|
Цаасны кассетын түгжээ-P1 (Paper Cassette Lock-P1) |
Админ цаасны хэрэглээг удирдахыг хүсвэл, кассетийг түгжихийн тулд үүнийг хоёр түгжээтэй цаасан кассетад бэхлээрэй. |