
|
|
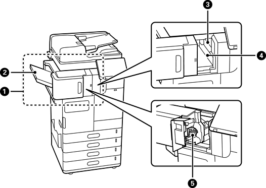
nietmachine-P1 (Staple Finisher-P1) |
Hiermee wordt papier gesorteerd en geniet voordat het wordt uitgeworpen. Met de optionele perforator kunt u perforeren. Maakt zadelsteken en vouwt papier met de optionele zadelsteekeenheid. |
|
|
Brochurelade |
Bevat documenten met een vouw of zadelsteek. |
|
|
Afwerkingslade |
Bevat gesorteerde documenten of documenten met nietjes. |
|
|
Uitvoerlade |
Opvanglade voor het papier dat uit de printer komt. U kunt deze lade alleen opgeven als de uitvoerbestemmnig voor ontvangen faxen. |
|
|
Bedieningspaneel voor handmatig nieten |
Gebruik dit wanneer u handmatig niet. |
|
|
Uitvoerlade boven |
Opvanglade voor het papier dat uit de printer komt. U kunt deze lade niet opgeven als de uitvoerbestemming. Papier wordt hier automatisch uitgeworpen, afhankelijk van bepaalde voorwaarden. |
|
|
Bak voor perforatieafval |
Hierin worden de perforatiesnippers opgevangen. |
|
|
Nietjescartridge |
Voor plathechten. |
|
|
Nietjescartridge |
Voor zadelhechten. |

|
|
interne afwerkeenheid-P1 (Inner finisher-P1) |
Hiermee wordt papier gesorteerd en geniet voordat het wordt uitgeworpen. Met de optionele perforator kunt u perforeren. |
|
|
Afwerkingslade |
Bevat gesorteerde documenten of documenten met nietjes. |
|
|
Perforator |
Perforeert gaten voor het inbinden. |
|
|
Perforatoropvangbak |
Hierin worden de perforatiesnippers opgevangen. |
|
|
Nietjescartridge |
Voor plathechten. |

|
|
LAN-poort |
U kunt twee bekabelde LAN-lijnen gebruiken door het installeren van de optionele ethernetkaart. |
|
|
EXT.-poort |
Voor aansluiting van externe telefoontoestellen. |
|
|
LINE1-poort |
U kunt maximaal 3 lijnen toevoegen. U kunt het als fax gebruiken of als netwerkfax om documenten vanaf uw computer te verzenden of op uw computer te ontvangen. Daarnaast kunt u meerdere telefoonlijnen aansluiten door een faxkaart te installeren. Hiermee kunt u in korte tijd faxberichten naar meerdere bestemmingen sturen. Ook kunt u instellen dat een lijn wordt gebruikt voor het ontvangen van faxberichten om de tijd waarin u niet kunt worden gebeld, te verkorten. * *: Externe telefoons zijn niet beschikbaar. |
|
|
LINE2-poort |
|
|
|
LINE3-poort |

|
|
Binnenlade-P1 (Inner Tray-P1) |
U kunt deze lade alleen opgeven als de uitvoerbestemmnig voor ontvangen faxen. |
|
|
Tabel voor verificatieapparaat-P1 (Authentication Device Table-P1) of Tabel voor verificatieapparaat-P2 (Authentication Device Table-P2) |
Hiermee kunt u een verificatieapparaat dat door de printer wordt ondersteund, bevestigen. U kunt vervolgens aanmelden bij de printer door een verificatiekaart boven de printer te houden. |
|
|
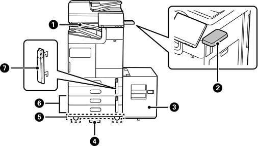
Lade met hoge capaciteit-P1 (High Capacity Tray-P1) |
Hierdoor kunt u een grotere hoeveelheid papier laden. |
|
|
Stabilisator-P1 (Stabiliser-P1) |
Ondersteunt de printer om te voorkomen dat deze kantelt. De stabilisators moeten normaal bevestigd zijn aan vier punten. Als de optionele nietmachine of de lade voor hoge capaciteit is geïnstalleerd, kunnen de stabilisators niet worden bevestigd aan de zijde waar het optionele item is geïnstalleerd. Deze zijn mogelijk niet beschikbaar afhankelijk van uw land of regio. |
|
|
Zwenkwielen tafel-P1 (Caster Table-P1) |
Hiermee kunt u de printer gemakkelijk verplaatsen. |
|
|
Optionele dubbele cassette-P1 (Optional Dual Cassette-P1) |
Voegt papiercassettes C3 en C4 toe aan de printer. |
|
|
Vergrendeling papiercassette-P1 (Paper Cassette Lock-P1) |
Wanneer de beheerder papiergebruik wil beheren, bevestigt u deze twee papiercassettes met een hangslot om de cassettes te vergrendelen. |