
|
|
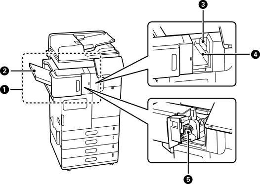
etterbehandler med stifter-P1 (Staple Finisher-P1) |
Sorterer og stifter papir før det mates ut. Lager hull med den valgfrie hullemaskinenheten. Ryggstifter og bretter papir ved å bruke den valgfrie ryggstiftingsenheten. |
|
|
Brosjyreskuff |
Holder brettede eller ryggstiftede dokumenter. |
|
|
Etterbehandlingsskuff |
Holder sorterte eller stiftede dokumenter. |
|
|
Utskuff |
Holder papiret som kommer ut. Du kan bare angi denne skuffen som utdatamål for mottatte fakser. |
|
|
Betjeningspanel for manuelle stifter |
Bruk denne når du stifter manuelt. |
|
|
Øvre utskuff |
Holder papiret som kommer ut. Du kan ikke spesifisere denne skuffen som utdatamål. Papiret mates automatisk ut her avhengig av visse forhold. |
|
|
Hullavfallseske |
Samler avfallet fra hullemaskinen. |
|
|
Stiftepatron |
For flate sømmer. |
|
|
Stiftepatron |
For salsøm. |

|
|
innvendig etterbehandler-P1 (Inner finisher-P1) |
Sorterer og stifter papir før det mates ut. Lager hull med den valgfrie hullemaskinenheten. |
|
|
Etterbehandlingsskuff |
Holder sorterte eller stiftede dokumenter. |
|
|
Hullmaskin |
Slår hull for innbinding. |
|
|
Hullavfallsskuff |
Samler avfallet fra hullemaskinen. |
|
|
Stiftepatron |
For flate sømmer. |

|
|
LAN-port |
Du kan bruke to kablede LAN-linjer ved å installere det valgfrie Ethernet-kortet. |
|
|
EXT.-port |
Kobler til eksterne telefoner. |
|
|
LINE1-port |
Du kan lagre opptil 3 linjer. Du kan bruke den som en faks, eller bruke den som en nettverksfaks for å sende og motta dokumenter på datamaskinen din. I tillegg kan du koble til flere telefonlinjer ved å legge til en fakstavle. Dette lar deg sende til flere destinasjoner på kort tid, eller du kan bestemme en linje som skal motta fakser, og dermed redusere tiden hvor du ikke kan motta anrop. * *: Eksterne telefoner er ikke tilgjengelige. |
|
|
LINE2-port |
|
|
|
LINE3-port |

|
|
Innvendig skuff-P1 (Inner Tray-P1) |
Du kan bare angi denne skuffen som utdatamål for mottatte fakser. |
|
|
Enhetsautentiseringstabell-P1 (Authentication Device Table-P1) eller Enhetsautentiseringstabell-P2 (Authentication Device Table-P2) |
Lar deg koble til en autentiseringsenhet som støttes av skriveren. Du kan deretter logge på skriveren ved å holde et autentiseringskort over den. |
|
|
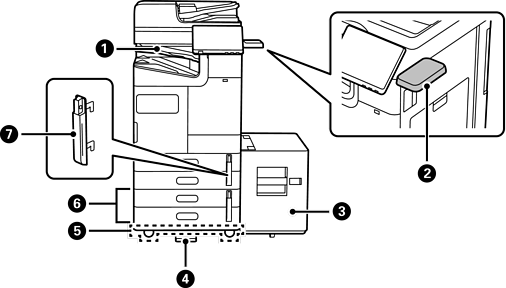
Høykapasitetsskuff-P1 (High Capacity Tray-P1) |
Lar deg legge i store mengder papir. |
|
|
Stabilisator-P1 (Stabiliser-P1) |
Støtter skriveren for å hindre at den velter. Stabilisatorene skal normalt festes til fire punkter. Hvis den valgfrie etterbehandleren med stifter eller høykapasitetsskuffen er installert, kan ikke stabilisatorene festes på siden der valgfritt element er installert. Disse er kanskje ikke tilgjengelige, avhengig av land eller område. |
|
|
Trillebord-P1 (Caster Table-P1) |
Lar deg flytte skriveren enkelt. |
|
|
Valgfri dobbel kassett-P1 (Optional Dual Cassette-P1) |
Legge papirkassetter C3 og C4 i skriveren. |
|
|
Papirkassettlås-P1 (Paper Cassette Lock-P1) |
Når man vil styre papirbruk, kan man feste dette til to papirkassetter med en hengelås for å låse kassettene. |