
|
|
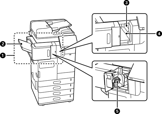
普通装订器-P1 |
出纸前对打印纸执行排序和装订操作。 使用打孔单元选件进行穿孔。使用鞍式装订钉合单元选件进行骑马订和折叠纸张。 |
|
|
小册子出纸器 |
存放折叠或骑马订的文档。 |
|
|
装订出纸器 |
容纳经过排序或装订的文档。 |
|
|
出纸器 |
存放弹出的打印纸。只能将此出纸器指定为接收传真的出纸位置。 |
|
|
手动装订操作面板 |
手动装订时使用。 |
|
|
顶部出纸器 |
存放弹出的打印纸。不能指定此出纸器作为出纸位置。依据特定条件,打印纸会在此处自动弹出。 |
|
|
穿孔废纸收集器 |
收集穿孔纸屑。 |
|
|
装订针 |
用于平订。 |
|
|
装订针 |
用于骑马订。 |

|
|
内部装订器-P1 |
出纸前对打印纸执行排序和装订操作。 使用打孔单元选件进行穿孔。 |
|
|
装订出纸器 |
容纳经过排序或装订的文档。 |
|
|
打孔单元 |
为装订进行穿孔。 |
|
|
穿孔废纸收集器 |
收集穿孔纸屑。 |
|
|
装订针 |
用于平订。 |

|
|
LAN 端口 |
通过安装网络扩充组件(选件),可以使用两条有线 LAN 线路。 |
|
|
EXT. 端口 |
连接外部电话设备。 |
|
|
LINE1 端口 |
最多可以添加 3 条线路。您可以将其用作传真,也可以将其用作网络传真,在您的计算机上发送和接收文档。此外,您可以通过添加传真扩充组件(选件)连接多条电话线路。如此一来,您可以在短时间内发送到多个目的地,或者您可以将一条线路专用于接收传真,以防不能接收呼叫。* *:外部电话不可用。 |
|
|
LINE2 端口 |
|
|
|
LINE3 端口 |

|
|
内部出纸器-P1 |
只能将此出纸器指定为接收传真的出纸位置。 |
|
|
读卡器设备选件-P1 或读卡器设备选件-P2 |
供您安装本产品支持的验证设备。然后,您可以通过将验证卡放在本产品上来登录本产品。 |
|
|
大容量进纸器-P1 |
供您装入大量打印纸。 |
|
|
稳定支架-P1 |
支撑本产品以防其翻倒。 稳定支架通常应安装到四端。如果安装了普通装订器选件或大容量进纸器选件,则在安装选件的一侧不能安装稳定支架。 根据您所在的国家或地区,可能不提供此稳定支架选件。 |
|
|
脚轮底座-P1 |
方便您轻松移动本产品。 |
|
|
双进纸器选件-P1 |
在本产品中添加进纸器 C3 和 C4。 |
|
|
进纸器锁-P1 |
当管理员想要管理打印纸的使用时,用挂锁将其连接到两个进纸器,以锁定进纸器。 |