
|
|
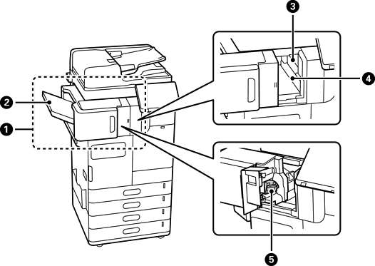
zošívací finišer P1 (Staple Finisher-P1) |
Zoradí a zošije papier pred jeho vysunutím. Urobí diery pomocou voliteľnej dierovačky. Sedlové zošívanie a ohýbanie papiera pomocou voliteľnej jednotky na sedlové zošívanie. |
|
|
Zásobník na brožúry |
Uchováva zložené alebo sedlovo zošité dokumenty. |
|
|
Zásobník dokončovania |
Slúži na zachytenie zoradených výtlačkov alebo zošitých dokumentov. |
|
|
Výstupný zásobník |
Drží vysunutý papier. Tento zásobník môžete určiť ako výstupný cieľ len pre prijaté faxy. |
|
|
Ovládací panel pre ručné zošívanie |
Použite pri ručnom zošívaní. |
|
|
Horný výstupný zásobník |
Drží vysunutý papier. Tento zásobník nemôžete určiť ako výstupný cieľ. Papier sa tu automaticky vysúva v závislosti od určitých podmienok. |
|
|
Skrinka na odpad po dierovaní |
Slúži na zachytávanie odpadu z vytvorených dier. |
|
|
Zošívacia kazeta |
Na ploché zošívanie. |
|
|
Zošívacia kazeta |
Na sedlové zošívanie. |

|
|
vnútorný finišer P1 (Inner finisher-P1) |
Zoradí a zošije papier pred jeho vysunutím. Urobí diery pomocou voliteľnej dierovačky. |
|
|
Zásobník dokončovania |
Slúži na zachytenie zoradených výtlačkov alebo zošitých dokumentov. |
|
|
Dierovačka na otvory |
Dieruje otvory na viazanie. |
|
|
Zásobník na odpad po dierovaní |
Slúži na zachytávanie odpadu z vytvorených dier. |
|
|
Zošívacia kazeta |
Na ploché zošívanie. |

|
|
Port LAN |
Po inštalácii voliteľnej karty siete Ethernet môžete použiť dve káblové linky LAN. |
|
|
Port EXT. |
Slúži na pripojenie vonkajších telefónnych zariadení. |
|
|
Port LINE1 |
Môžete pridať až 3 linky. Môžete to používať ako fax, prípadne to použite ako sieťový fax na odosielanie a prijímanie dokumentov na počítači. Okrem toho môžete pripojiť k viacerým telefónnym linkám pridaním faxovej karty. Vďaka tomu možno odosielať do množstva cieľov v krátkom čase, prípadne môžete vyhradiť jednu linku na prijímanie faxov, čím sa skráti doba, počas ktorej nemôžete prijímať hovory. * *: Externé telefóny nie sú k dispozícii. |
|
|
Port LINE2 |
|
|
|
Port LINE3 |

|
|
Vnútorný zásobník - P1 (Inner Tray-P1) |
Tento zásobník môžete určiť ako výstupný cieľ len pre prijaté faxy. |
|
|
Plocha na overovacie zariadenie - P1 (Authentication Device Table-P1) alebo Plocha na overovacie zariadenie - P2 (Authentication Device Table-P2) |
Umožňuje pripojiť overovacie zariadenie podporované tlačiarňou. Potom sa môžete prihlásiť do tlačiarne podržaním overovacej karty nad tlačiarňou. |
|
|
Vysokokapacitný zásobník - P1 (High Capacity Tray-P1) |
Umožňuje vložiť veľké množstvo papiera. |
|
|
Stabilizátor - P1 (Stabiliser-P1) |
Podopiera tlačiareň a zabraňuje jej prevráteniu. Stabilizátory by mali byť normálne pripevnené k štyrom bodom. Ak je nainštalovaný voliteľný zošívací finišer alebo vysokokapacitný zásobník, stabilizátory nemožno pripevniť na bok, kde je nainštalovaný voliteľný prvok. Tieto nemusia byť dostupné vo vašej krajine alebo regióne. |
|
|
Stôl s kolieskami - P1 (Caster Table-P1) |
Umožňuje jednoduché premiestnenie tlačiarne. |
|
|
Voliteľný dvojitý zásobník - P1 (Optional Dual Cassette-P1) |
Slúži na pridanie zásobníkov papiera C3 a C4 do tlačiarne. |
|
|
Zámok zásobníka papiera - P1 (Paper Cassette Lock-P1) |
Keď chce správca spravovať spotrebu papiera, pripevnite ho k dvom zásobníkom papiera visiacim zámkom na uzamknutie zásobníkov. |