
|
|
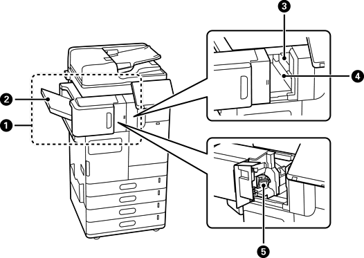
uređaj za završnu obradu spajanjem-P1 (Staple Finisher-P1) |
Razvrstava i povezuje heftalicom papir pre nego što ga izbaci. Buši papir pomoću opcione jedinice za bušenje papira. Povezivanje heftalicom i savijanje papira pomoću opcione jedinice za heftanje. |
|
|
Podmetač za brošure |
Drži presavijene dokumente ili dokumente spojene heftalicom. |
|
|
Podmetač uređaja za završnu obradu |
Drži poslagane ili spojene dokumente. |
|
|
Izlazni podmetač |
Drži izbačeni papir. Ovaj podmetač možete da navedete samo kao izlazno odredište za primljene faksove. |
|
|
Operativna tabla za ručno spajanje |
Koristite ovo prilikom ručnog spajanja. |
|
|
Gornji izlazni podmetač |
Drži izbačeni papir. Ne možete navesti ovaj podmetač kao izlazno odredište. Papir se ovde automatski izbacuje u zavisnosti od određenih uslova. |
|
|
Kutija za otpatke od bušenja |
Sakuplja deliće probušenih rupa. |
|
|
Kertridž sa spajalicama |
Za ravno povezivanje. |
|
|
Kertridž sa spajalicama |
Za povezivanja heftalicom. |

|
|
interni uređaj za završnu obradu-P1 (Inner finisher-P1) |
Razvrstava i povezuje heftalicom papir pre nego što ga izbaci. Buši papir pomoću opcione jedinice za bušenje papira. |
|
|
Podmetač uređaja za završnu obradu |
Drži poslagane ili spojene dokumente. |
|
|
Jedinica za bušenja papira |
Buši rupe za povezivanje. |
|
|
Podmetač za otpatke od bušenja |
Sakuplja deliće probušenih rupa. |
|
|
Kertridž sa spajalicama |
Za ravno povezivanje. |

|
|
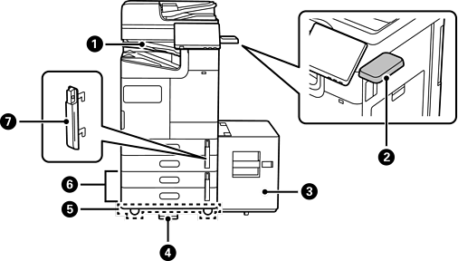
LAN port |
Možete da koristite dva kablovske LAN linije instaliranjem opcione ethernet ploče. |
|
|
EXT. port |
Priključuje spoljne telefonske uređaje. |
|
|
LINE1 port |
Možete da dodate do 3 linije. Možete da ga koristite kao faks, ili da ga koristite kao mrežni faks kako biste slali ili primali dokumente na računar. Pored toga, možete da povežete više telefonskih linija dodavanjem kartice za faks. Na taj način možete za kratko vreme da obavite slanje na nekoliko odredišta ili možete da dodelite jednu liniju za prijem faksova, čime se smanjuje vreme tokom koga ne možete da primate pozive. * *: Nisu dostupni spoljni telefoni. |
|
|
LINE2 port |
|
|
|
LINE3 port |

|
|
Unutrašnji podmetač-P1 (Inner Tray-P1) |
Ovaj podmetač možete da navedete samo kao izlazno odredište za primljene faksove. |
|
|
Tabela uređaja za autentifikaciju-P1 (Authentication Device Table-P1) ili Tabela uređaja za autentifikaciju-P2 (Authentication Device Table-P2) |
Omogućava vam da priključite uređaj za autentizaciju koji podržava štampač. Zatim se možete prijaviti na štampač držanjem kartice za autentizaciju iznad štampača. |
|
|
Ladica velikog kapaciteta-P1 (High Capacity Tray-P1) |
Omogućava vam da ubacite veliku količinu papira. |
|
|
Stabilizator-P1 (Stabiliser-P1) |
Podržava štampač da ne bi prevrnuo. Stabilizatori bi obično trebalo da budu pričvršćeni na četiri tačke. Ako je instaliran opcioni uređaj za završnu obradu spajanjem ili podmetač velikog kapaciteta, stabilizatori se ne mogu pričvrstiti na stranu na kojoj je instalirana opciona stavka. Oni možda neće biti dostupni u zavisnosti od vaše zemlje ili regiona. |
|
|
Sto sa točkićima-P1 (Caster Table-P1) |
Omogućava vam da lako pomerite štampač. |
|
|
Opcionalna dupla kaseta-P1 (Optional Dual Cassette-P1) |
Dodaje kasete za papir C3 i C4 štampaču. |
|
|
Bravica kasete za papir-P1 (Paper Cassette Lock-P1) |
Kada administrator želi da upravlja upotrebom papira, pričvrstite ovo na dve kasete za papir pomoću katanca da biste zaključali kasete. |