
|
|
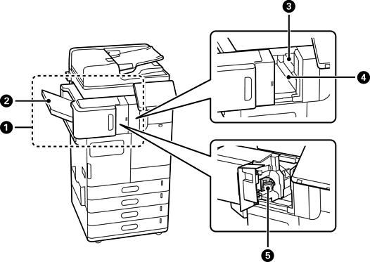
一般裝訂器-P1 (Staple Finisher-P1) |
將其退出前先分類和裝訂紙張。 使用選購的打孔裝置打孔。使用選購的騎馬訂摺分頁單元進行騎馬訂及紙張折疊。 |
|
|
小冊子托盤 |
容納折疊或騎馬訂文件。 |
|
|
分頁裝訂托盤 |
存放經過排序或用訂書針裝訂好的文件。 |
|
|
出紙托盤 |
支撐退出的紙張。您只能指定此托盤作為已接收傳真的輸出目的地。 |
|
|
手動裝訂的操作面板 |
手動裝訂時使用。 |
|
|
頂部出紙托盤 |
支撐退出的紙張。您無法指定此托盤作為輸出目的地。根據特定條件,紙張從此處自動退出。 |
|
|
打孔集屑盒 |
收集打孔碎屑。 |
|
|
訂書針匣 |
用於平訂。 |
|
|
訂書針匣 |
用於騎馬訂。 |

|
|
內部分頁器-P1 (Inner finisher-P1) |
將其退出前先分類和裝訂紙張。 使用選購的打孔裝置打孔。 |
|
|
分頁裝訂托盤 |
存放經過排序或用訂書針裝訂好的文件。 |
|
|
打孔單元 |
裝訂孔。 |
|
|
打孔垃圾匣 |
收集打孔碎屑。 |
|
|
訂書針匣 |
用於平訂。 |

|
|
LAN 連接埠 |
您可安裝選購的網路套件以使用兩條有線 LAN 線路。 |
|
|
EXT. 連接埠 |
用於連接外部電話裝置。 |
|
|
LINE 1 連接埠 |
最多可新增 3 條線路。您可將其用作傳真,或網路傳真以在您的電腦上傳送和接收文件。此外,您可新增傳真板以連接至多個電話線路。這可讓您短時間內傳送至多個目的地,或者您可專用一條線路接收傳真,以減少您無法接聽電話的時間。* *: 外部電話不可用。 |
|
|
LINE 2 連接埠 |
|
|
|
LINE 3 連接埠 |

|
|
內部托盤-P1 (Inner Tray-P1) |
您只能指定此托盤作為已接收傳真的輸出目的地。 |
|
|
專用認證設備架-P1 (Authentication Device Table-P1) 或 專用認證設備架-P2 (Authentication Device Table-P2) |
可讓您安裝印表機支援的驗證裝置。將驗證卡置於印表機上方,即可登入印表機。 |
|
|
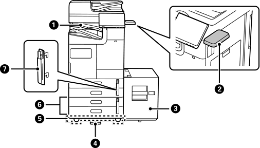
高容量進紙匣-P1 (High Capacity Tray-P1) |
可讓您裝入大量紙張。 |
|
|
穩定器-P1 (Stabiliser-P1) |
支撐印表機以避免翻倒。 穩定器通常應安裝至四個點。如果安裝選購的一般裝訂器或高容量托盤,穩定器無法安裝在已安裝選購項目的一側。 您的所在國家或地區可能沒有提供這些配件。 |
|
|
腳輪架-P1 (Caster Table-P1) |
可輕鬆移動印表機。 |
|
|
選購雙進紙匣-P1 (Optional Dual Cassette-P1) |
將進紙匣 C3 和 C4 加裝至印表機。 |
|
|
進紙匣鎖-P1 (Paper Cassette Lock-P1) |
當管理員想要管理紙張使用情況時,請使用掛鎖將此裝到兩個進紙匣來鎖定進紙匣。 |