
|
|
Bedienfeld |
Dient dem Ändern von Einstellungen und ermöglicht das Auslösen von Druckervorgängen. Zeigt auch den Druckerstatus an. |
|
|
Externer Schnittstellen-USB-Port |
Anschluss für Speichergeräte. |
|
|
Druckkopf |
Gibt Tinte aus. |
|
|
Ausgabefach |
Nimmt das ausgegebene Papier auf. Beim Drucken auf Papier, das größer als A4 ist, wird dieses Fach automatisch ausgefahren. Schieben Sie es manuell hinein, um es in die Lagerposition zu bringen. |
|
|
Ausgabeführung |
Wenn das Papier nicht in der richtigen Reihenfolge ausgeworfen wird, erhöhen Sie die Ausgabeführung, indem Sie den Hebel auf der rechten Seite des Ausgabewachs zu sich ziehen. |
|
|
Stopper |
Verhindert, dass ausgeworfenes Papier herunterfällt. |
|
|
Dokumenthalter |
Bietet Platz für die Handbücher. |
|
|
Vorderabdeckung (A) |
Öffnen Sie diese Abdeckung, um gestautes Papier aus dem Drucker zu entfernen. |
|
|
Reinigungstuchhalter |
Halter für das Reinigungstuch. |
|
|
Reinigungstuch |
Verwenden Sie es zum Reinigen der Glasoberfläche der Scannereinheit und des ADF. |

|
|
Manueller Hefter (Manual Stapler) (Optional) |
Heftet gedrucktes Papier. |
|
|
Papierkassette 1 (C1) |
Enthält Papier. |
|
|
Papierkassette 2 (C2) |
Enthält Papier. Optionale Papierkassette. |
|
|
Papierkassette 3 (C3) |
|
|
|
Papierkassette 4 (C4) |
|
|
|
Druckergestell (Printer Stand) (Optional) |
Verhindert, dass der Drucker bei Installation auf dem Boden umfällt. Das Gestell ist mit Lenkrollen ausgestattet, damit Sie den Drucker leicht bewegen können. |
|
Optionales Gehäuse (Optional Cabinet) (Optional) |
Sie können anstelle eines Druckerständers einen Unterschrank mit Rollen installieren. (Wenn Sie den Unterschrank installieren, können die Papierkassetten 3 und 4 nicht installiert werden.) Aufbewahrungsmöglichkeit für Papier und andere Verbrauchsmaterialien. |
|
|
|
Kantenführung |
Sorgt dafür, dass das Papier gerade in den Drucker eingezogen wird. Schieben Sie die Schienen an die Papierkanten heran. |
|
|
Papierkassette |
Enthält Papier. |
|
|
Fach für Tinten-Versorgungs-Einheit |
Für eine Tinten-Versorgungs-Einheit. |
|
|
Abdeckungsverriegelung |
Verriegelt die Abdeckung der Tinten-Versorgungs-Einheit. |
|
|
Abdeckung der Tinten-Versorgungs-Einheit (P) |
Beim Austausch von Tinten-Versorgungs-Einheiten öffnen. |
|
|
Authentifizierungsgerätetabelle-P2 (Authentication Device Table-P2) (Optional) |
Ermöglicht Ihnen die Anbringung eines vom Drucker unterstützen Authentifizierungsgerätes. Anschließend können Sie sich am Drucker anmelden, indem Sie eine Authentifizierungskarte über den Drucker halten. |

|
|
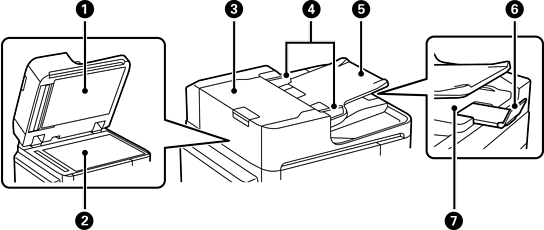
Dokumentabdeckung |
Verhindert das Eindringen von externem Licht beim Scannen. |
|
|
Vorlagenglas |
Legen Sie die Vorlagen ein. Sie können Vorlagen wie Umschläge oder dicke Bücher einlegen, die nicht aus dem ADF eingezogen werden. |
|
|
ADF-Abdeckung (automatischer Vorlageneinzug) (F) |
Öffnen Sie diese, um gestaute Vorlagen aus dem ADF zu entfernen. |
|
|
ADF-Kantenführung |
Sorgt dafür, dass die Vorlagen gerade in den Drucker eingezogen werden. Schieben Sie die Schiene an die Vorlagenkante heran. |
|
|
ADF-Eingabefach |
Zieht Vorlagen automatisch ein. Es lassen sich mehrere Vorlagen in einem Durchgang einstellen. |
|
|
Stopper |
Verhindert, dass ausgeworfene Vorlagen aus dem ADF-Ausgabefach fallen. |
|
|
ADF-Ausgabefach |
Nimmt die vom ADF ausgegebenen Vorlagen auf. |

|
|
Papierstütze |
Dient als Auflage für das eingelegte Papier. |
|
|
Papierfach (B) |
Enthält Papier. |
|
|
Papierfachabdeckung |
Verhindert, dass Fremdkörper in den Drucker gelangen. Diese Abdeckung sollte in der Regel geschlossen sein. |
|
|
Kantenführung |
Sorgt dafür, dass das Papier gerade in den Drucker eingezogen wird. Schieben Sie die Schienen an die Papierkanten heran. |
|
|
Zufuhrschutz |
Verhindert, dass Fremdkörper in den Drucker gelangen. Normalerweise bleibt dieser Schutz geschlossen. |
|
|
Kantenführung |
Sorgt dafür, dass das Papier gerade in den Drucker eingezogen wird. Schieben Sie die Schienen an die Papierkanten heran. |