
|
|
Хянах самбар |
Танд тохиргоо хийх болон принтер дээр үйлдэл хийх боломж олгоно. Мөн принтерийн төлөвийг харуулна. |
|
|
Гадаад интерфейсийн USB порт |
Санах ойн төхөөрөмжийг холбоно. |
|
|
Хэвлэгчийн толгой |
Бэхийг шүршинэ. |
|
|
Гаралтын тэвш |
Гаргасан цаасыг тогтооно. Та A4-аас том хэмжээтэй цаас хэвлэж эхлэхэд энэ тавиур автоматаар гарна. Тавиурыг хадгалхын тулд гараараа түлхэнэ. |
|
|
Гаргах хөтөч |
Хэрэв цаас зөв дарааллаар гарахгүй бол, гаралтын тавцангийн баруун талын хөшүүргийг татаж гаргах хөтчийг өргөнө. |
|
|
Зогсоогч |
Гаргасан цаасыг унахаас сэргийлнэ. |
|
|
Бичиг баримт тогтоогч |
Гарыг тогтооно. |
|
|
Урд таг (A) |
Принтер доторх гацсан цаасыг авахын тулд үүнийг онгойлго. |
|
|
Цэвэрлэх алчуур тогтоогч |
Цэвэрлэх алчуурыг тогтооно. |
|
|
Цэвэрлэх алчуур |
Сканнерын хэрэгслийн шилэн гадаргуу ба ADF-г цэвэрлэхэд ашиглана. |

|
|
Гар үдээсний машин (Manual Stapler) (Сонголттой) |
Үдээстэй хэвлэсэн цаас. |
|
|
Цаасны хуурцаг 1 (C1) |
Цаасыг ачаална. |
|
|
Цаасны хуурцаг 2 (C2) |
Цаасыг ачаална. Сонголтын чанартай цаасан хуурцгийн хэсэг. |
|
|
Цаасны хуурцаг 3 (C3) |
|
|
|
Цаасны хуурцаг 4 (C4) |
|
|
|
Принтерийн суурь (Printer Stand) (Сонголттой) |
Шалан дээр суурилуулсан үед принтерийг унахаас сэргийлнэ. Тавиур нь танд принтерийг хялбархан хөдөлгөх боломж олгох жижиг дугуйтай. |
|
Сонголттой шүүгээ (Optional Cabinet) (Сонголттой) |
Принтерийн тавиурын оронд кастертай шүүгээ суулгаж болно (хэрэв та шүүгээ суурилуулсан бол 3 ба 4-р цаасан кассетыг суулгах боломжгүй). Цаас болон бусад зарцуулалтыг хадгална. |
|
|
|
Ирмэг заагч |
Цаасыг шууд принтерт татна. Цаасны ирмэгт тултал гулгуул. |
|
|
Цаасны кассет |
Цаасыг ачаална. |
|
|
Бэх нийлүүлэх нэгжийн тэвш |
Бэх нэмэх хэсгийг тохируулна. |
|
|
Тагны түгжээ |
Бэх нийлүүлэх нэгжийг тагийг түгжинэ. |
|
|
Бэх нийлүүлэх нэгжийн таг (P) |
Бэх нэмэх хэсгийг солихдоо нээ. |
|
|
Баталгаажуулах төхөөрөмжийн хүснэгт-P2 (Authentication Device Table-P2) (Сонголттой) |
Хэвлэгчээс дэмжих баталгаажуулах төхөөрөмжийг суурилуулах боломжтой болно. Ингэснээр та баталгаажуулах картыг хэвлэгчийн дээр тавьж хэвлэгчид нэвтрэх боломжтой. |

|
|
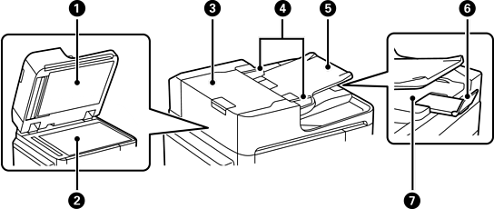
Бичиг баримтын тагs |
Скандаж байхад гадны гэрлийг хаана. |
|
|
Сканерын шил |
Эхийг байрлуул. Та дугтуй эсвэл зузаан ном зэрэг ADF-с оруулаагүй эхүүдийг байрлуулж болно. |
|
|
ADF (Автомат Баримт Татагч)-ийн таг (F) |
ADF доторх гацсан эхийг авахын тулд үүнийг онгойлгоно. |
|
|
ADF ирмэг заагч |
Эхийг шууд принтерт татна. Эхийн ирмэгт тултал гулгуул. |
|
|
ADF оролтын тэвш |
Эхийг автоматаар татна. Та олон эхийг нэгэн зэрэг тохируулах боломжтой. |
|
|
Зогсоогч |
Гаргасан эхүүд ADF гаралтын тавцангаас унахаас сэргийлнэ. |
|
|
ADF гаралтын тэвш |
ADF-с гаргасан эхийг тогтооно. |

|
|
Цаасны дэмжлэг |
Ачаалсан цаасанд тулгуур болно. |
|
|
Цаасны тавиур (B) |
Цаасыг ачаална. |
|
|
Цаасны тавиурын таг |
Принтерт гадны биет орохоос сэргийлнэ. Энэхүү таг нь ихэвчлэн хаалттай байна. |
|
|
Ирмэг заагч |
Цаасыг шууд принтерт татна. Цаасны ирмэгт тултал гулгуул. |
|
|
Тэжээгчийн хамгаалалт |
Принтерт гадны биет орохоос сэргийлнэ. Энэхүү хаалтыг байнга хаалттай байлга. |
|
|
Ирмэг заагч |
Цаасыг шууд принтерт татна. Цаасны ирмэгт тултал гулгуул. |