前面

操作パネル

プリンターの操作や設定をします。また、プリンターの状態を表示します。

外部機器接続用USBポート

外部メモリーを挿入します。

プリントヘッド

インクを吐出します。

排紙トレイ

排紙された用紙を保持します。

A4より大きいサイズの用紙を印刷すると、自動で出てきます。収納は手で押して戻してください。

排紙ガイド

用紙が正しい順序で排出されないときは、排紙トレイの右側にあるレバーを手前に引いて排紙ガイドを立てます。

ストッパー

排出された用紙の落下を防ぎます。

マニュアル入れ

マニュアルなどを収納します。

前面カバー(A

内部に詰まった用紙を取り除くときに開けます。

クリーニングクロス入れ

クリーニングクロスを収納します。

クリーニングクロス

スキャナーユニットやADFの読み取りガラスの表面をきれいにします。

マニュアルステープル

(オプション)

印刷物をホチキス止めします。

用紙カセット1(C1

用紙をセットします。

用紙カセット2(C2

用紙をセットします。オプションの増設カセットユニットです。

用紙カセット3(C3

用紙カセット4(C4

専用プリンター台

(オプション)

プリンターを床に置いたときの転倒を防止します。キャスター付きなので簡単に移動もできます。

専用キャビネット

(オプション)

プリンター台の替わりに、キャスター付きのキャビネットを装着することもできます(キャビネット装着時に用紙カセット3と4は装着不可)。

印刷用紙や消耗品などが収納できます。

用紙ガイド

用紙をまっすぐ送るためのガイドです。用紙の側面に合わせてください。

用紙カセット

用紙をセットします。

インクパックトレイ

インクパックをセットします。

カバーロック

インクパックカバーをロックします。

インクパックカバー(P

インクパックを交換するときに開けます。

認証デバイス台・P2

(オプション)

認証装置をセットしておきます。使用するときは認証カードをかざすとログオンできます。

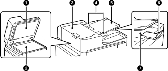
原稿カバー

原稿の読み取り時に外部の光を遮ります。

原稿台

原稿をセットします。ADFで給紙できない封筒や本など、厚みのある原稿もセットできます。

ADF(オートドキュメントフィーダー)カバー(F

ADFに詰まった原稿を取り除くときに開けます。

ADF原稿ガイド

原稿をまっすぐ送るためのガイドです。原稿の側面に合わせてください。

ADFトレイ

原稿を自動で送ります。複数枚の原稿を一度にセットできます。

ストッパー

排出された原稿がADF排紙トレイから落下するのを防ぎます。

ADF排紙トレイ

ADFから排出された原稿を保持します。

用紙サポート

セットした用紙を支えます。

手差しトレイ(B

用紙をセットします。

手差しトレイカバー

内部に異物が入ることを防ぎます。通常は閉めておいてください。

用紙ガイド

用紙をまっすぐ送るためのガイドです。用紙の側面に合わせてください。

給紙口カバー

内部に異物が入ることを防ぎます。通常は閉めておいてください。

用紙ガイド

用紙をまっすぐ送るためのガイドです。用紙の側面に合わせてください。