
|
|
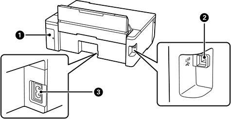
Cubierta de la caja de mantenimiento |
Quítela cuando cambie la caja de mantenimiento. Necesita un destornillador de cabeza plana para quitar la caja de mantenimiento. La caja de mantenimiento es un contenedor que acumula una cantidad muy pequeña de tinta excedente durante la limpieza o la impresión. |
|
|
Puerto USB |
Aquí se enchufa el cable USB para conectarla con el ordenador. |
|
|
Entrada de CA |
Conecte aquí el cable de alimentación. |