גב

מכסה קופסת התחזוקה

הסר בעת החלפת קופסת התחזוקה. כדי להוציא את קופסת התחזוקה‏,  נדרש מברג עם ראש שטוח. קופסת התחזוקה היא מיכל שאוסף כמות קטנה מאוד של דיו עודף במהלך הניקוי או ההדפסה.

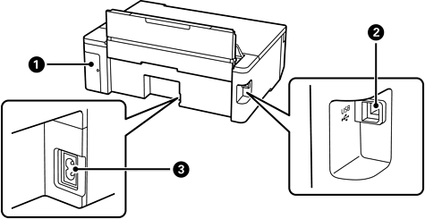
יציאת USB

חיבור כבל USB כדי לחבר את המוצר למחשב.

כניסת ז"ח

חיבור כבל החשמל.