
|
|
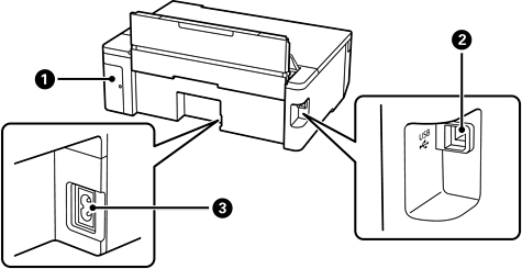
रखरखाव बॉक्स कवर |
रखरखाव बॉक्स को बदलते समय निकालें। रखरखाव बॉक्स को निकालने के लिए एक फ्लैट-हेड स्क्रू ड्राइवर की जरूरत पड़ती है। रखरखाव बॉक्स वह कंटेनर है जो सफ़ाई या प्रिंटिंग के दौरान बहुत ही थोड़ी मात्रा में अतिरिक्त इंक को इकट्ठा करता है। |
|
|
USB पोर्ट |
कंप्यूटर से कनेक्ट करने के लिए USB केबल कनेक्ट करता है। |
|
|
AC इनलेट |
पावर कॉर्ड कनेक्ट करता है। |