
|
|
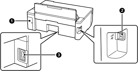
Penutup kotak pemeliharaan |
Lepaskan saat mengganti kotak pemeliharaan. Anda memerlukan obeng minus untuk melepas kotak pemeliharaan. Kotak pemeliharaan adalah wadah yang menampung kelebihan tinta dalam jumlah yang sangat sedikit selama pembersihan atau pencetakan. |
|
|
Port USB |
Menghubungkan kabel USB agar terhubung ke komputer. |
|
|
Jalan masuk AC |
Menghubungkan kabel daya. |