
|
|
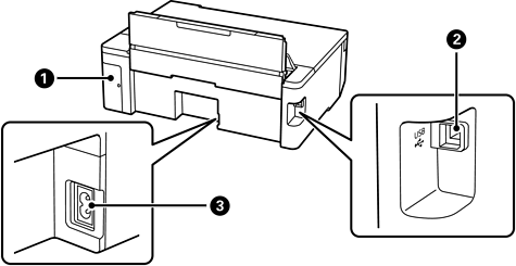
Засвар үйлчилгээний хайрцгийн таг |
Засвар үйлчилгээний хайрцгийг солих үед авна. Засвар үйлчилгээний хайрцгийг салгахын тулд танд хавтгай толгойтой халив хэрэг болно. Засварын хайрцаг нь цэвэрлэх эсвэл хэвлэх явцад маш бага хэмжээний үлдэгдэл бэхийг цуглуулан хадгалагч юм. |
|
|
USB порт |
Компьютерт холбогдох USB кабелийг холбоно. |
|
|
AC оролт |
Тэжээлийн залгуурыг холбоно. |