
|
|
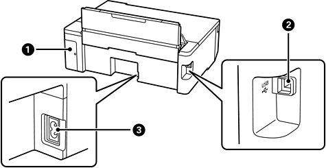
Tampa da caixa de manutenção |
Remover ao substituir a caixa de manutenção. É necessário uma chave de fendas para remover a caixa de manutenção. A caixa de manutenção é um recipiente que recolhe uma pequena quantidade de tinta excedente durante a limpeza ou impressão. |
|
|
Porta USB |
Permite ligar um cabo USB para estabelecer ligação com um computador. |
|
|
Entrada de CA |
Liga o cabo de alimentação. |