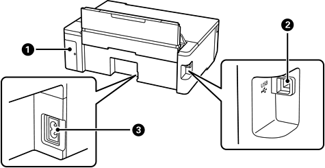
後方

廢棄墨水收集盒護蓋

更換廢棄墨水收集盒時請移除。您需要使用平頭螺絲起子拆下廢棄墨水收集盒。廢棄墨水收集盒是一個容器,可在清潔或列印期間收集非常少量的多餘墨水。

USB 連接埠

使用 USB 連接線連接電腦。

AC 電源插孔

連接電源連接線。