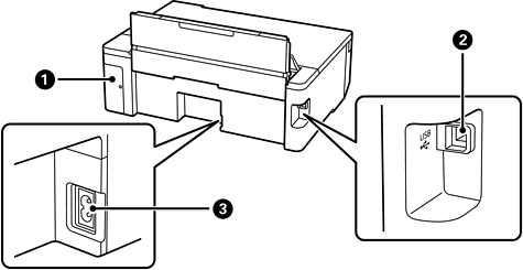
Mặt sau

Nắp hộp bảo trì

Tháo khi thay hộp bảo trì. Bạn cần một tuốc nơ vít đầu phẳng để tháo hộp bảo trì. Hộp bảo trì là một hộp chứa thu gom một lượng rất nhỏ mực thừa trong khi vệ sinh hoặc in.

Cổng USB

Cắm cáp USB để kết nối với máy tính.

Lối vào AC

Kết nối với dây điện nguồn.