
|
|
Задній пристрій подачі паперу |
Завантажує папір. |
|
|
Пюпітр |
Утримує папір, що вставляється у принтер. |
|
|
Бічна напрямна |
Подає папір безпосередньо у принтер. Пересувається до країв паперу. |
|
|
Панель керування |
Дає змогу виконувати операції на принтері та вказує на стан принтера. |
|
|
Вихідний лоток |
Утримує папір, що виходить. |
|
|
Обмежувач |
Установіть обмежувач, щоб запобігти падінню роздруківок із вихідного лотка. |

|
|
Кришка принтера |
Відкривайте, коли потрібно вилучити папір, затиснутий всередині принтера. Не відкривайте цю кришку, якщо принтер не використовується, щоб запобігти потрапляння у принтер сторонніх речовин. |
|
|
Ковпачок чорнильного картриджа |
Відкрийте, щоб заправити чорнильний картридж. |
|
|
Кришка чорнильного картриджа |
|
|
|
Блок чорнильних картриджів |
Містить чорнильні картриджі. |
|
|
Чорнильні резервуари (чорнильні картриджі) |
Постачає чорнило до друкувальної головки. |
|
|
Передня кришка |
Відкривайте, коли потрібно вилучити папір, затиснутий всередині принтера. |
|
|
Тримач кришки принтера |
Підтримує кришку принтера під час її відкриття. |
|
|
Друкувальна головка |
Чорнило подається через сопла друкувальної головки, що розташовані знизу. |

|
|
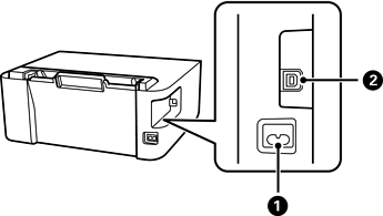
Вхідний роз’єм змінного струму |
Для підключення шнура живлення. |
|
|
Порт USB |
Використовується для підключення до комп’ютера через кабель USB. |