
|
|
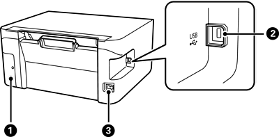
Maintenance box cover |
Remove when replacing the maintenance box. You need a flat-head screwdriver to remove the maintenance box. The maintenance box is a container that collects a very small amount of surplus ink during cleaning or printing. |
|
|
USB port |
Connects a USB cable to connect with a computer. |
|
|
AC inlet |
Connects the power cord. |