Wyłącznie dla ET-3850 Series/L6270 Series

|
|
Pokrywa automatycznego podajnika dokumentów (ADF — Automatic Document Feeder) |
Otwierana podczas usuwania papieru zaciętego w podajniku ADF. |
|
|
Taca wejściowa podajnika ADF |
Automatyczne podawanie oryginałów. |
|
|
Prowadnica krawędzi ADF |
Wprowadzają oryginały prosto do drukarki. Przysuń do krawędzi oryginałów. |
|
|
Podpórka dokumentów podajnika ADF |
Służy do podtrzymywania oryginałów. |
|
|
Przedłużka tacy wyjściowej podajnika ADF |
Służy do przechowywania oryginałów o rozmiarze Legal wysuwanych z podajnika ADF. Trzeba ją wysunąć podczas skanowania oryginałów o rozmiarze Legal za pomocą podajnika ADF. |
|
|
Taca wyjściowa podajnika ADF |
Przechowuje oryginały wysunięte z podajnika ADF. |

|
|
Taca wyjściowa |
Przechowuje papier wysunięty z drukarki. |
|
|
Kaseta na papier |
Służy do ładowania papieru. |
|
|
Prowadnica krawędzi |
Wprowadza papier prosto do drukarki. Należy dosunąć je do krawędzi papieru. |
|
|
Rozszerzenie prowadnicy papieru |
Wysuń, aby załadować rozmiar większy niż A4. |

|
|
Pokrywa szyby skanera |
Blokuje dostęp światła zewnętrznego podczas skanowania. |
|
|
Szyba skanera |
Umieść oryginały. |
|
|
Panel sterowania |
Pozwala na wprowadzanie ustawień i wykonywania czynności w drukarce. |
|
|
Pokrywa przednia |
Otwórz, aby załadować papier do kaseta na papier. |

|
|
Moduł skanera |
Służy do skanowania umieszczonych w nim oryginałów. Otwórz, aby uzupełnić tusz w zbiorniku lub usunąć zacięty papier. Ten moduł powinien być zwykle zamknięty. |
|
|
Osłona zbiornika z tuszem |
Otwierana podczas uzupełniania tuszu w zbiorniku. |
|
|
Pojemniki z tuszem |
Dostarcza tusz do głowicy drukującej. |
|
|
Moduł pojemników z tuszem |
Zawiera pojemniki z tuszem. |
|
|
Głowica drukująca |
Tusz jest wyrzucany przez dysze znajdującej się poniżej głowicy drukującej. |

|
|
Pokrywa zbiornika na zużyty atrament |
Po zdjęciu pozwala wymienić zbiornik na zużyty atrament. Zbiornik na zużyty atrament jest pojemnikiem służącym do gromadzenia niewielkich ilości nadmiarowego tuszu podczas czyszczenia lub drukowania. |
|
|
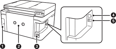
Tylna pokrywa |
Odłącz podczas usuwania zaciętego papieru. |
|
|
Gniazdo AC |
Służy do podłączania przewodu zasilającego. |
|
|
Port LAN |
Umożliwia podłączenie przewodu LAN. |
|
|
Port USB |
Podłączanie kabla USB w celu połączenia z komputerem. |