|
|
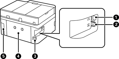
Porta LAN |
Liga um cabo LAN. |
|
|
Porta USB |
Permite ligar um cabo USB para estabelecer ligação com um computador. |
|
|
Entrada de CA |
Liga o cabo de alimentação. |
|
|
Tampa posterior (D) |
Remova quando pretender remover papel encravado. |
|
|
Tampa da caixa de manutenção (L) |
Remover ao substituir a caixa de manutenção. A caixa de manutenção é um recipiente que recolhe uma pequena quantidade de tinta excedente durante a limpeza ou impressão. |