
|
|
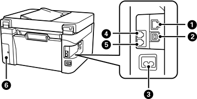
LAN-port* |
Ansluter en LAN-kabel. |
|
|
USB-port |
Ansluter en USB-kabel för att kunna ansluta till en dator. |
|
|
AC-ingång |
Ansluter strömkabeln. |
|
|
EXT. port* |
Ansluter externa telefonenheter. |
|
|
LINE-port* |
Ansluter en telefonlinje. |
|
|
Lock för underhållsenhet |
Ta bort den använda underhållslådan. Du behöver en skruvmejsel med platt huvud för att ta bort underhållslådan. Underhållsenheten är en container som samlar väldigt lite överskottsbläck under rengöring eller utskrift. |
* Endast för ET-4810 Series/L5590 Series