|
|
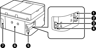
LAN पोर्ट |
LAN केबल को कनेक्ट करता है। |
|
|
USB पोर्ट |
कंप्यूटर से कनेक्ट करने के लिए USB केबल कनेक्ट करता है। |
|
|
EXT. पोर्ट |
बाहरी फ़ोन डिवाइसों को कनेक्ट करता है। |
|
|
LINE पोर्ट |
फ़ोन लाइन को कनेक्ट करता है। |
|
|
AC इनलेट |
पावर कॉर्ड कनेक्ट करता है। |
|
|
पिछला कवर (D) |
फंसे हुए कागज़ को निकालते समय इसे निकालें। |
|
|
रखरखाव बॉक्स कवर (L) |
रखरखाव बॉक्स को बदलते समय निकालें। रखरखाव बॉक्स वह कंटेनर है जो सफ़ाई या प्रिंटिंग के दौरान बहुत ही थोड़ी मात्रा में अतिरिक्त इंक को इकट्ठा करता है। |