
|
|
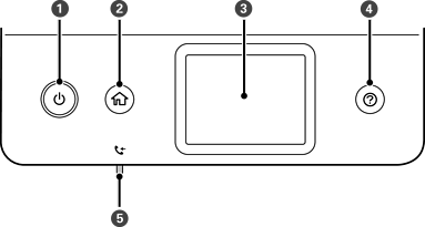
प्रिंटर चालू या बंद करता है। पावर लाइट बंद होने पर, पावर कॉर्ड अनप्लग करें। |
|
|
होम स्क्रीन प्रदर्शित करता है। |
|
|
मेनू और संदेश प्रदर्शित करता है। |
|
|
जब आपको कोई समस्या आती है, तो समाधान प्रदर्शित करता है। |
|
|
प्रिंटर की मेमोरी में संग्रहित ऐसे प्राप्त दस्तावेज़, जिन्हें अभी तक पढ़ा नहीं गया हो, प्रिंट नहीं किया गया हो, सहेजा नहीं गया हो, चालू हो जाते हैं। |
* सिर्फ़ ET-5170 Series/L6490 Series के लिए